宝能及钜盛华被强制执行20亿
财经号APP
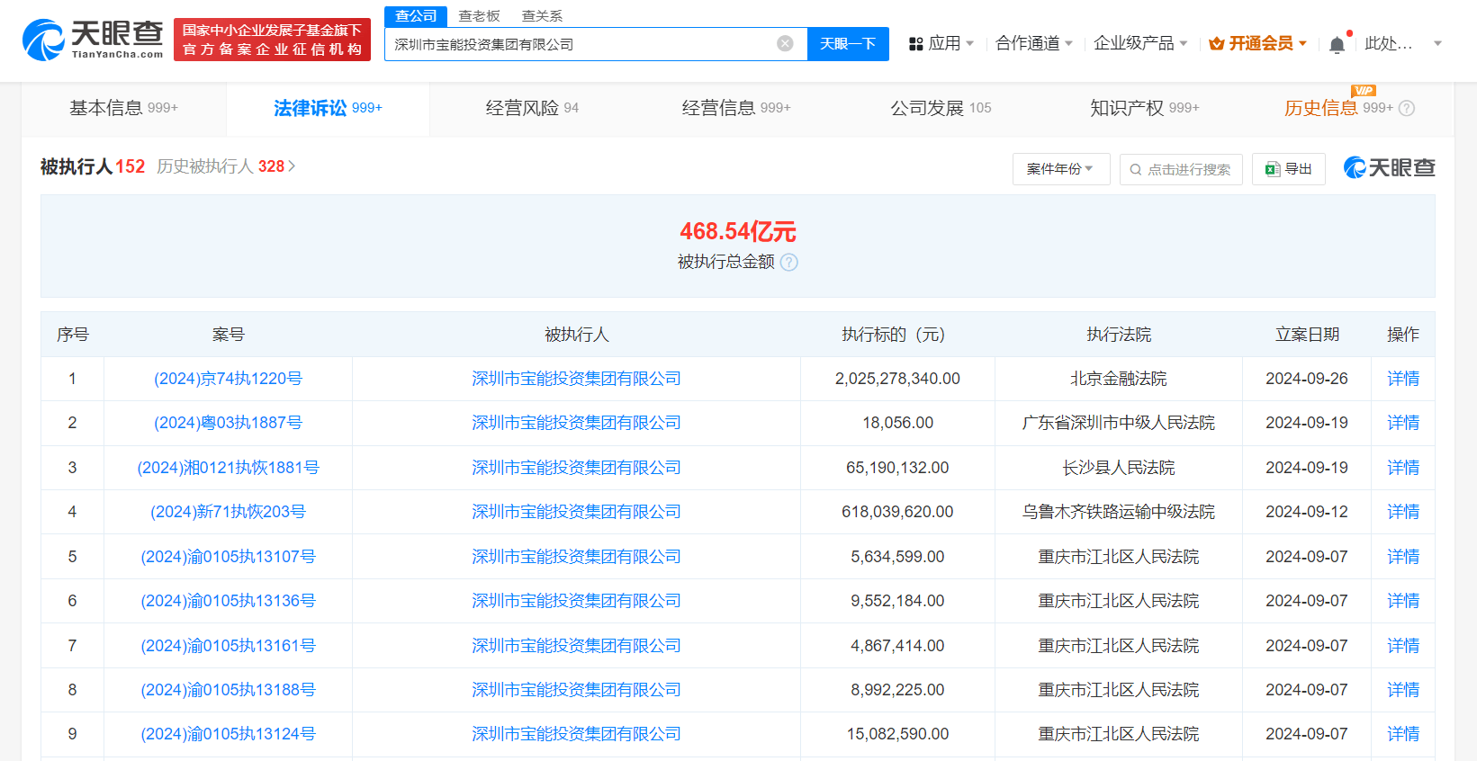
天眼查法律诉讼信息显示,近日,深圳市宝能投资集团有限公司、深圳市钜盛华股份有限公司新增一则被执行人信息,执行标的20.25亿余元,执行法院为北京金融法院。
天眼风险信息显示,深圳市宝能投资集团有限公司现存152条被执行人信息,被执行总金额超468亿元。此外,该公司还存在多条限制消费令、失信被执行人(老赖)及终本案件信息。


领和讯Plus会员,免费看更多独家内容:8大财经栏目,最新最热资讯干货独家行情解读,快人一步掌握市场投资风向。
财经号声明: 本文由入驻中金在线财经号平台的作者撰写,观点仅代表作者本人,不代表中金在线立场。仅供读者参考,并不构成投资建议。投资者据此操作,风险自担。同时提醒网友提高风险意识,请勿私下汇款给自媒体作者,避免造成金钱损失,风险自负。如有文章和图片作品版权及其他问题,请联系本站。
0条评论 网友评论文明上网,理性发言
查看更多评论
