听泉鉴宝商标遭抢注 听泉鉴宝暗语很开门被抢注商标
近日,博主“听泉鉴宝”陷入学历造假风波。10月15日,听泉鉴宝发视频回应称:从未说过自己是北大的。他说因为最近身体状况很差,最初只是想休息一下,没想到出现了大量不实信息。据悉,“听泉鉴宝”直播中会经常提到“很开门”等暗语。
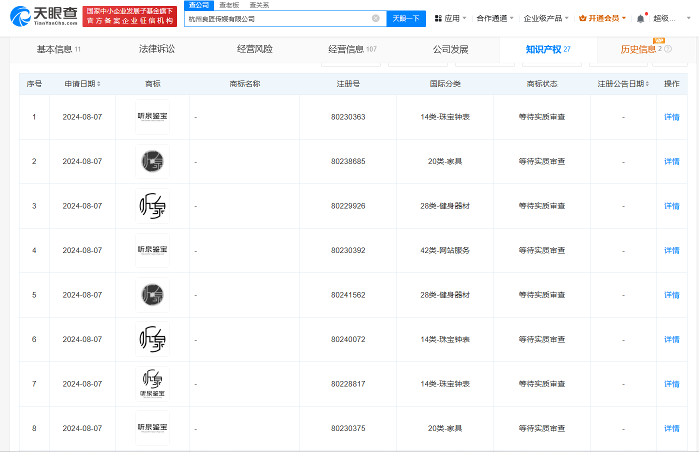
天眼查知识产权信息显示,听泉鉴宝关联的杭州良匠传媒有限公司已申请注册多枚“听泉”“听泉鉴宝”“听泉严选”“听泉甄选”“听泉优选”商标,国际分类涉及广告销售、珠宝钟表等,当前商标状态均为等待实质审查。此外,江苏灵匠企业管理有限公司、莘芮餐饮管理(上海)有限公司也曾申请注册多枚“听泉鉴宝”等商标,其中,江苏灵匠公司近期已成功注册多枚“听泉”商标,其余商标申请均为等待实质审查。股权穿透信息显示,上述两公司与听泉鉴宝公司无股权关联。
此外,今年9月,刘某某申请注册2枚“很开门”商标,国际分类为餐饮住宿、广告销售,当前商标状态为等待实质审查。




领和讯Plus会员,免费看更多独家内容:8大财经栏目,最新最热资讯干货独家行情解读,快人一步掌握市场投资风向。
财经号声明: 本文由入驻中金在线财经号平台的作者撰写,观点仅代表作者本人,不代表中金在线立场。仅供读者参考,并不构成投资建议。投资者据此操作,风险自担。同时提醒网友提高风险意识,请勿私下汇款给自媒体作者,避免造成金钱损失,风险自负。如有文章和图片作品版权及其他问题,请联系本站。
