揭秘小虎行背后公司 小虎行公司曾申请小虎行商标被驳回
近日,航空测评网红“小虎行”机场强迫志愿者摘口罩,拍视频威胁还扬言要亲自动手,相关话题引发网友热议。目前,其账号已无法被搜索到,账号主页认证关联公司为杭州小虎行资产管理有限公司。
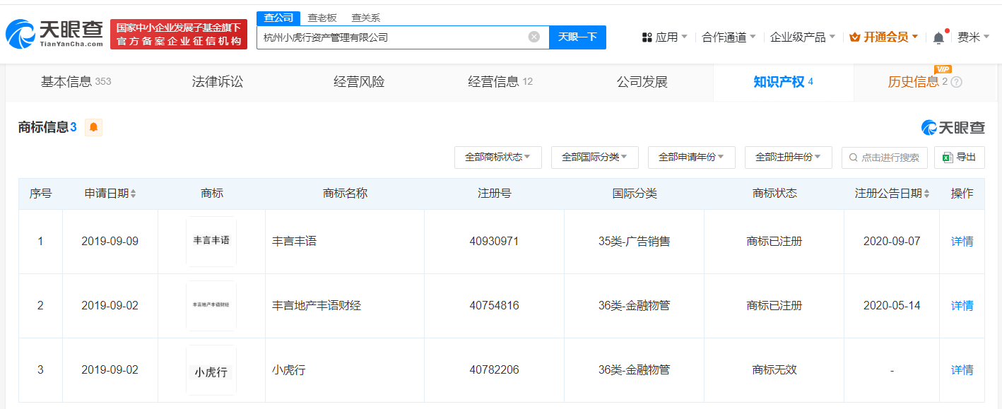
天眼查App显示,杭州小虎行资产管理有限公司成立于2017年6月,法定代表人为王兆丰,注册资本500万人民币,经营范围包括资产管理、投资管理、投资咨询、企业管理咨询,由王兆丰、杨孟共同持股。知识产权信息显示,该公司已成功注册“丰言丰语”“丰言地产丰语财经”商标,其于2019年9月申请的“小虎行”商标已被驳回,现处于无效状态。关联企业信息显示,王兆丰、杨孟二人名下还关联了多家名为“丰言丰语”“小虎行”的公司。



领和讯Plus会员,免费看更多独家内容:8大财经栏目,最新最热资讯干货独家行情解读,快人一步掌握市场投资风向。
财经号声明: 本文由入驻中金在线财经号平台的作者撰写,观点仅代表作者本人,不代表中金在线立场。仅供读者参考,并不构成投资建议。投资者据此操作,风险自担。同时提醒网友提高风险意识,请勿私下汇款给自媒体作者,避免造成金钱损失,风险自负。如有文章和图片作品版权及其他问题,请联系本站。
