万科被冻结2.5亿股权
天眼查天眼风险信息显示,近日,万科A(000002)新增一则股权冻结信息,股权所在企业为万纬物流发展有限公司,冻结股权数额2.5亿人民币,冻结期限为3年,执行法院为江苏省徐州市中级人民法院。
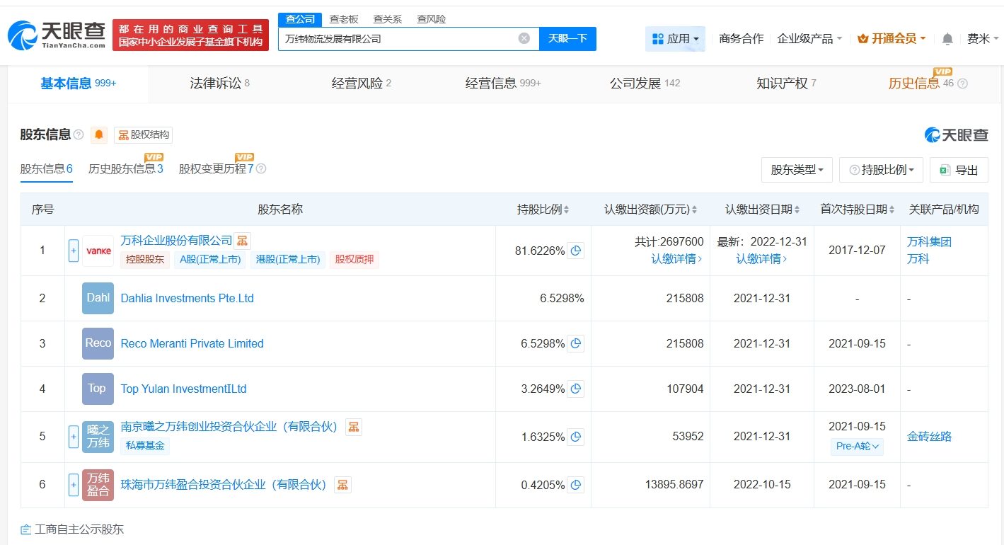
万纬物流发展有限公司成立于2017年12月,法定代表人为吴蓓雯,注册资本约330.5亿人民币,经营范围包括普通货物仓储服务、国内货物运输代理、供应链管理服务等。股东信息显示,该公司由万科企业股份有限公司、Dahlia Investments Pte.Ltd、Reco Meranti Private Limited等共同持股。



领和讯Plus会员,免费看更多独家内容:8大财经栏目,最新最热资讯干货独家行情解读,快人一步掌握市场投资风向。
财经号声明: 本文由入驻中金在线财经号平台的作者撰写,观点仅代表作者本人,不代表中金在线立场。仅供读者参考,并不构成投资建议。投资者据此操作,风险自担。同时提醒网友提高风险意识,请勿私下汇款给自媒体作者,避免造成金钱损失,风险自负。如有文章和图片作品版权及其他问题,请联系本站。
