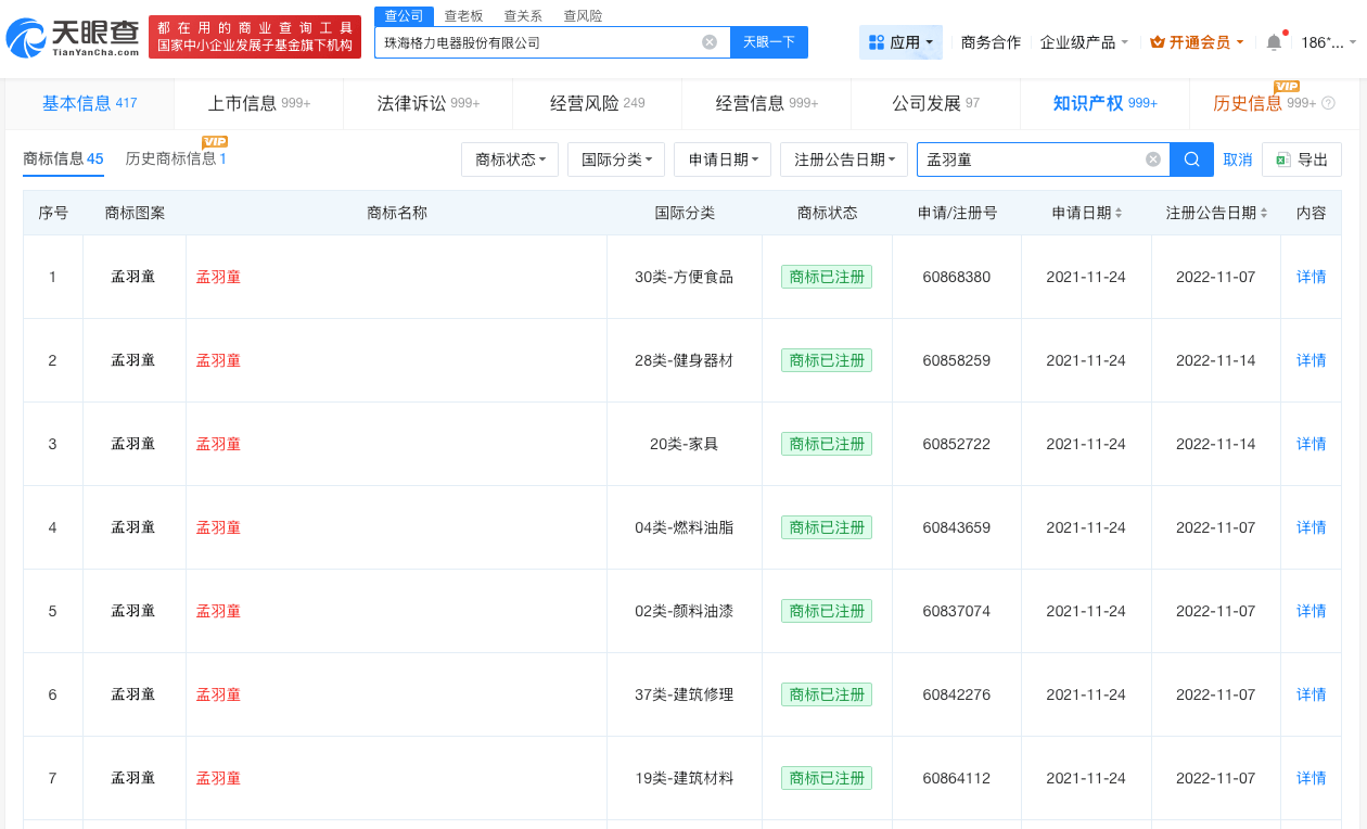
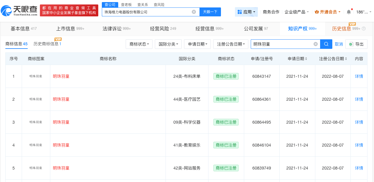
格力电器仍持有多枚孟羽童相关商标
财经号APP
近日,孟羽童参加综艺《初入职场》再度提及在格力的工作经历,相关话题引发热议。
天眼查知识产权信息显示,格力电器(000651) 已成功注册多枚“孟羽童”“明珠羽童”商标,国际分类包括方便食品、健身器材、家具等。


领和讯Plus会员,免费看更多独家内容:8大财经栏目,最新最热资讯干货独家行情解读,快人一步掌握市场投资风向。
财经号声明: 本文由入驻中金在线财经号平台的作者撰写,观点仅代表作者本人,不代表中金在线立场。仅供读者参考,并不构成投资建议。投资者据此操作,风险自担。同时提醒网友提高风险意识,请勿私下汇款给自媒体作者,避免造成金钱损失,风险自负。如有文章和图片作品版权及其他问题,请联系本站。
0条评论 网友评论文明上网,理性发言
查看更多评论
