北京金茂满曜拿证569套,最高预售价突破9.4万元/平米
北京进深 赵盼盼 5月30日,金茂满曜569套住宅取得预售许可证,备案名为满茂嘉园。
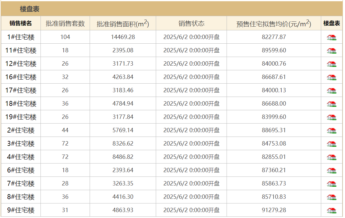
准售14栋住宅楼,准售面积合计7.3万㎡,拟售均价在8.23万-9.13万元/㎡区间,其中1#-701预售价达到9.43万元/㎡。



预证楼栋号和总平图标注的有点出入。
按照公示的设计方案,项目拟建13栋8-26F洋房+小高层,但实际按照19栋楼取证。
6#、8#、9#、11#、12#、13#按总层数不同,分别拆分成两个楼号。

项目面向刚改及年轻改善家庭客群主推五个户型:
115/116㎡三居,129㎡/133㎡/159㎡四居,东北角的1#楼和5#楼还有部分120和148户型。
层高基本都在3米以上,部分接近3.2米。
面积段与保利朝观天珺大部分重合,但金茂满曜主力面积段更小一些,建面130㎡以下的房源占比近七成:
115/116户型220套;129/133㎡户型近300套;147/159两种大户型房源总计150套左右。
定价逻辑上,金茂满曜或将以朝观天珺为基准,形成“高低配”错位入市,主打“质价比”吸引预算有限的客群。
包括厨卫家具电器外,玄关、餐边柜、家政柜也都做到满配,真正的拎包入住。





小区里有很多水系,特别是沿着街坊路的两侧。
总平图上,一条12米宽的街坊路将小区拆成东西两部分,街坊路上设置了3个车行出入口,1个进入西区,2个进入东区,分别对应三排住宅楼。
但在户型分布图上,几乎看不到街坊路的存在。整条路线九曲回肠,被各种大乔木和弧形水池占据,很难让机动车穿行。
在回复反馈意见时,开发商承诺将“按照挂牌文件要求街坊路与项目同期建成并对外开放;项目临街坊路两侧不设置围墙,不会对消防扑救场地造成影响。”
但是同时也补充了一句,街坊路开口以人行和消防应急口为主,平时无车行,对交通影响极小。
说白了,街坊路对外开放,但仅对行人和应急车辆开放,社会车辆不能通行。
实际上是把这条12米宽的街坊路变成了一条步行街。
人车分流的问题解决了,小区的封闭式管理还是没能实现,道路对行人开放,两侧又没有围墙,这就意味着,不是本小区的业主,也可以任意出入。
小区总共规划946个机动车位,其中有45个位于地面:西区有13个;其余在东区,集中在室外设备场和南侧车行出入口位置。
此外,小区西北角有一座清代墓园,现存石文晟继妻佟氏诰封碑为普查登记文物,原地保留。

项目官微对于产品介绍“详略得当”,用了非常多的篇幅展示两大卖点:科技+美学。
沿袭金茂的“健康舒居”基因,搭载前沿3.0科技系统,让科技成为豪宅标配,健康、安全与隐私即成为舒居生活底色.
而在美学特质上,65x6.5米艺术风大门,爱马仕旗舰店同款奢材与工艺拼接的街角景墙;外立面单元式玻璃幕墙体系,透光率91%+参数化金属格栅;2000㎡星空穹顶艺术会所,8.5挑空……还提到一项,北京首个地上地下双车马院归家系统:地上车马院+地下车马光厅。
具体这个系统什么样,没有进一步解释了,现在只知道它地上地下都有停车位。
来张效果图感受下↓

今年2月11日,保利金茂联合拿下的三间房组合地块,总价87.3亿元。
包括两幅住宅地块:
1、南区06地块,保利操盘,案名为朝观天珺。
地上建面7.71万㎡,容积率2.8,控高60米(局部80米),折合楼面价约5.6万元/㎡。
首批次397套已于近日取得销售许可证,拟售价格在8.84万-9.25万元/㎡区间。
2、D区07地块,由金茂操盘,打造为北京首个满系产品:金茂满曜。
地上建面9.21万㎡,容积率2.5,控高80米,折合楼面价4.8万元/㎡。
住宅建面9.1万㎡,共719户,户均建面约127㎡。
两个项目相距1公里左右,同在地铁6号线沿线。金茂满曜靠近黄渠站,距离朝阳路更近一些;保利朝观天珺则紧邻朝阳北路,褡裢坡站,比金茂满曜更靠近地铁。
周边配套资源基本一致,包括朝阳大悦城、星悦广场、常楹天街等商业项目,民航总医院、朝阳医院(常营院区)等医疗配套。
附近主要新盘为保利和光煦境、三元嘉业的玺悦朝阳,目前均已售罄。
保利和光煦境期房2023年4月开盘,共310套房源,主推88-129㎡三居;2024年9月末,96套现房入市,面积段104-127㎡,期房网签均价8.37万元/㎡;现房网签均价7.56万元/㎡。
隔壁的玺悦朝阳(熹悦苑)的开发商北京三嘉泰富置业有限公司,是首农集团旗下三元嘉业的参股子公司。
项目于2023年8月2日获得预售许可证,共获批6栋楼、296套房源,同样是大户型为主,面积段99-151㎡三居四居,成交均价8.33万元/㎡。
相较于这两个基本售罄的项目,保利金茂三间房地块最大的对手或是西边5公里处的御翠园。
这是和记黄埔去年10月底新开的盘,共有3栋高层近400套房源+77套联排别墅,目前网签:89套高层,均价7.8万/㎡;22套别墅,成交价8.3万/㎡。
这个价格对三间房地块来说压力很大。御翠园的位置在五环内,接近东四环,姚家园板块,周边城市界面比三间房好太多,但房子本身差点意思,短面宽、长进深,十多年前的老户型。
保利和金茂在产品上还是有后发优势的。
此外,三间房区域新建商品房基本空白,安置房近年建了不少,次新房单价仅4万 ;再往东一点到管庄,柏林爱乐、万象新天的二手房价也已经降到5万出头,对刚需客群非常有吸引人。
财经号声明: 本文由入驻中金在线财经号平台的作者撰写,观点仅代表作者本人,不代表中金在线立场。仅供读者参考,并不构成投资建议。投资者据此操作,风险自担。同时提醒网友提高风险意识,请勿私下汇款给自媒体作者,避免造成金钱损失,风险自负。如有文章和图片作品版权及其他问题,请联系本站。
