品实云湖花城慢了,钱伟开启“砸盘式”降价

文/粤进深 严明会
前几天砸下13多个亿,在广州荔湾拿地后。
珠江实业传出,旗下一楼盘要“降价回血”了。
并且幅度还不小。
主角,是位于白云湖板块的品实云湖花城。
据传出的消息,项目在本周末将开启新一轮降价。
吹风直降30-60万,其中约70㎡三房总价降至180万内,约80㎡四房200万出头。
最高甚至能降70万。
幅度之大,迅速引起了市场的注意。
这两天,很多的自媒体都在讨论这个盘。
品实云湖花城,其实是一个联合开发的项目。
它的开发主体为广州市品实房地产开发有限公司。
该公司由珠实地产和广州地铁集团分别持股51%、49%。
珠实地产是珠江实业旗下100%持股公司。
工商信息显示,品实房地产董事长为钱伟,经理为陈启明。
这是一个大盘,占地面积22.29万㎡,总建面78.79万㎡。
共19栋楼,4700多户。

一、二、三期产品分别已在2020年6月、2021年6月、2022年5月开盘。
四期则是在2025年4月开盘。
凭借着双国企合作、地铁学府大城等标签,品实云湖花城早期卖得其实不错。
比如,一期开盘,半年时间售出710套;
二期首开,更创下1小时卖12亿成绩,成为当时白云西销冠。
不过时易境迁,当时的红盘,如今也只能放下身段降价促销。
究其原因,市场的去化逻辑,已经变了。
市面上新规产品不断推出,使用率更高,产品也更好。
而在这些方面稍有不足,只能通过降价来达成去化了。
品实云湖花城就是这样的例子。
项目一二期,虽然当时卖得不错,但这两期其实还是超高层。
放在当时的市场或许是不错的选择。
但现在,整个市场都是新规产品在打架,内卷不断,结果自然也就可想而知了。
并且,项目所在的白云湖板块恰恰供应也不少。
片区内越秀、招商、中建等多个盘贴身肉搏。
各自的情况也都大体相同,不降价,客流就被抢走了。
比如,最明显的就是越秀天悦云湖。
这个盘,跟品实云湖花城距离不远,同样就在地铁8号线亭岗站附近。
产品面积段也基本重合。
品实云湖花城产品建面72-141㎡,越秀天悦云湖76-133㎡。
基本就是“有你无我、有我无你”的状态,
而最近,越秀天悦云湖也传出了降价的消息。
当中,85㎡产品280多万降到250多万。
所以说,品实云湖花城能不降吗。也只能跟进了吧,且还要跟进得更狠。
而且还有一点,品实云湖花城近段时间以来的去化,确实也慢了很多。
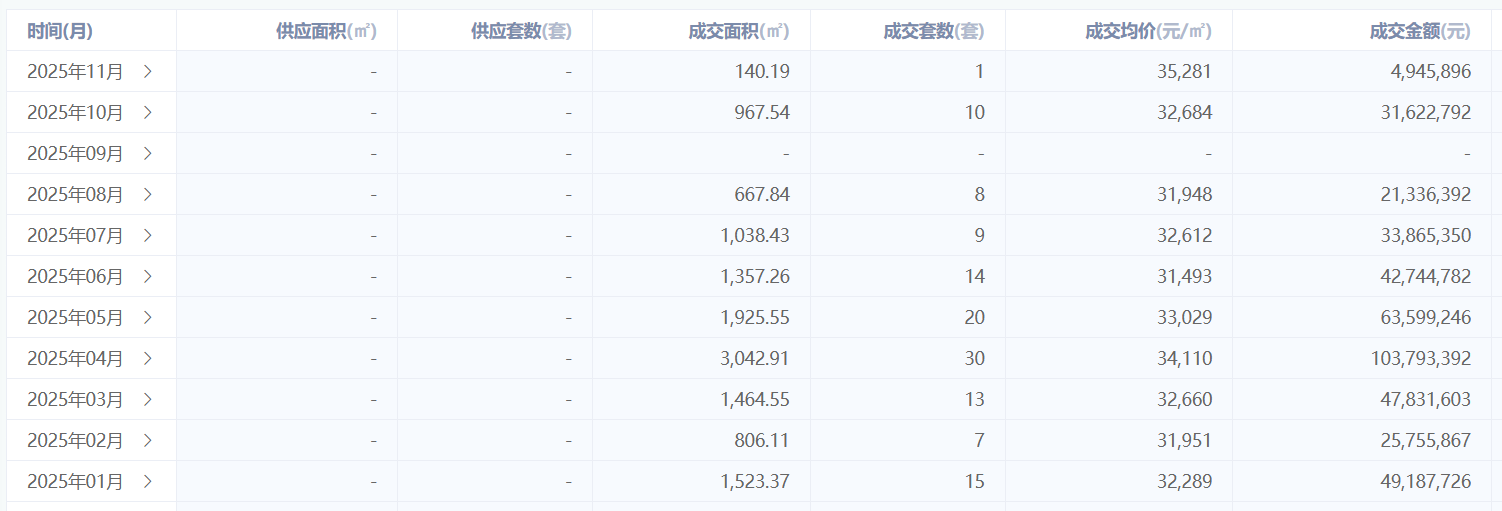
进深君查阅CRIC的数据看到,今年上半年,品实云湖花城的成交套数99套。

而7-11月这四个月的时间里,项目仅成交了28套。
即便是有国庆黄金周的10月单月,也仅成交了10套。
可以对比的是,去年10月单月,项目还有高达75套的成交。
这个差距可不是一点点。
如今,距离2025年结束不到一个月,品实云湖花城看来要认真冲刺一波了。
其实,不仅是品实云湖花城,近段时间以来,不少楼盘都开始了年底的降价冲刺。
比如市场上受到比较大关注的,包括大壮名城、富力新城等,无不如此。
进深君也查了下,品实云湖花城的最新网签情况。

项目一至四期,已拿预售证的房源整体网签去化73%左右。
这里面,一、二、三期的网签均已超过九成。
也就是说,项目去化压力其实最主要集中在四期。
这次砸盘式降价,品实云湖花城能成功去化一波吗?


财经号声明: 本文由入驻中金在线财经号平台的作者撰写,观点仅代表作者本人,不代表中金在线立场。仅供读者参考,并不构成投资建议。投资者据此操作,风险自担。同时提醒网友提高风险意识,请勿私下汇款给自媒体作者,避免造成金钱损失,风险自负。如有文章和图片作品版权及其他问题,请联系本站。
