中交城投在黄埔,越卖越贵了

文/广州进深 严明会
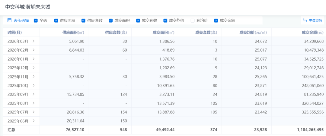
近日,位于黄埔区的中交科城·黄埔未来城(备案名:泷玺花园)新领预售证。
批准预售住宅30套,预售总建筑面积5061.897㎡。
户型全部为建面约169㎡的大平层。

黄埔未来城于2025年6月28日开盘,目前已入市9个月。
克而瑞数据显示,开盘至今,项目累计网签374套房源,成交金额11.84亿元,地价覆盖率约139.3%。
从成交价来看,黄埔未来城的价格一直相对稳定,相较于去年首开甚至有小幅上涨。
当时首开时,成交价在2.34万元/㎡;目前最新成交价为2.47万元/㎡。

还没开盘的时候,项目就因一张“保价函”出了圈。
开发商称,保价至清盘,如有降价,将进行差价补偿、换房或退房。
打响了广州“开盘保价”的第一枪。
如今看来,中交城投确实信守了承诺,没降价。
项目前身,是2024年12月初,中交城投和科学城集团联手,以底价约8.5亿元拿下的黄埔区广深沿江高速以南、开发大道以东HPG-NG-06地块,俗称“将军山地块”。
楼面价很便宜,仅9482元/㎡。
这也是中交城投在黄埔的首个住宅项目。
黄埔未来城共规划12栋楼,有3栋31-32层的高层住宅,2梯4户;还有9栋16层高的小高层,2梯2户,户型主打改善。

项目最大的亮点就是使用率,阳台占比可以扩展到30%,再加10%公共平台,整体使用率高达143%。
容积率只有2.81,相比周边在售项目万科黄埔新城来说,密度低上不少。
低容积率住宅,居住舒适度也会更高。
黄埔未来城项目开发主体广州中宜埔峻房地产开发有限公司(以下简称“中宜埔峻”)成立于2024年12月14日,即当时拿地后10天左右。
董事长为李文浩,总经理为赵桦。
股权上,中宜埔峻由中交城市投资发展(广东)有限公司、广州峻森投资有限公司分别持股70%、30%。
其中,广州峻森投资有限公司为科学城(广州)投资集团有限公司全资子公司。

财经号声明: 本文由入驻中金在线财经号平台的作者撰写,观点仅代表作者本人,不代表中金在线立场。仅供读者参考,并不构成投资建议。投资者据此操作,风险自担。同时提醒网友提高风险意识,请勿私下汇款给自媒体作者,避免造成金钱损失,风险自负。如有文章和图片作品版权及其他问题,请联系本站。
