成都金融城8号半栋取证,韩黎留了一手
乐居财经 刘治颖 拿预售证三个月,成都金融城8号“半栋取证”模式又引起了关注。
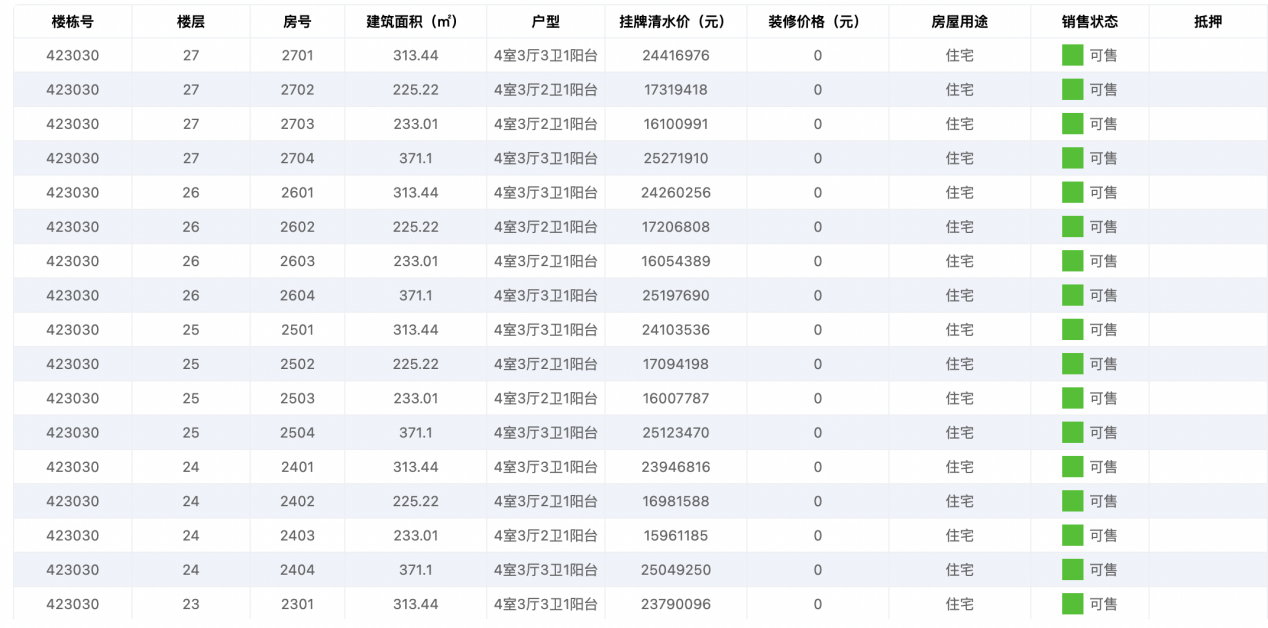
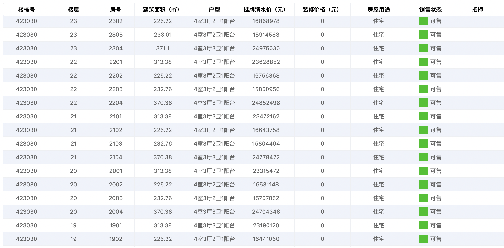
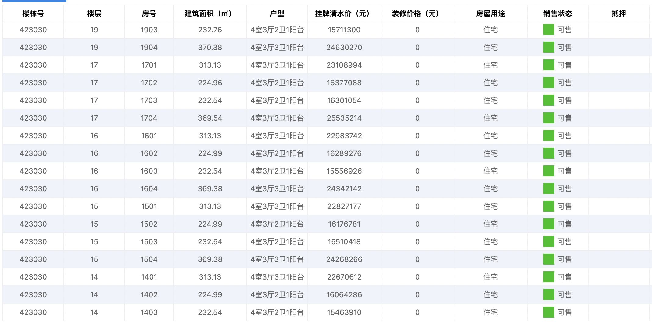
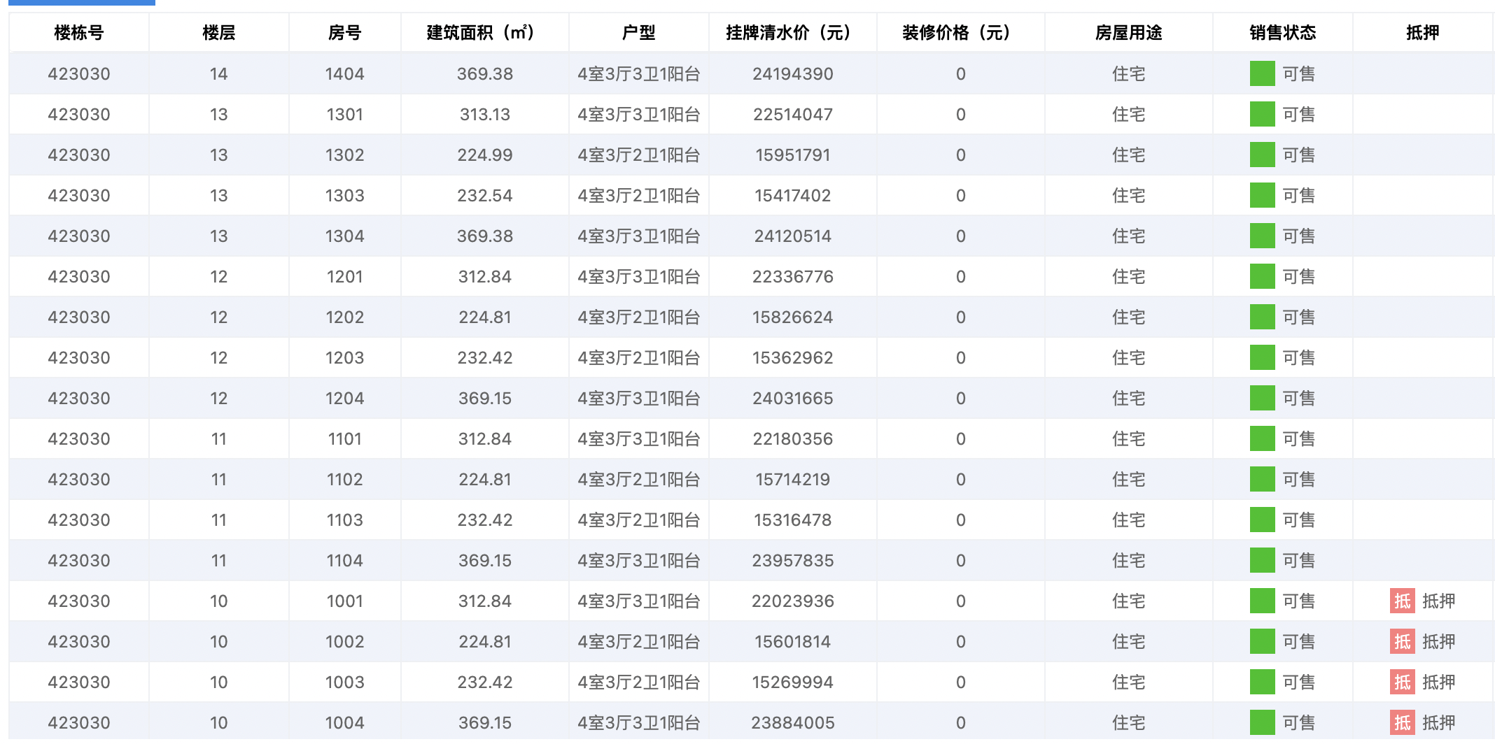
2025年12月10日,位于成都金融城核心区的金融城8号正式取得预售许可,其清水均价约6.93万/平,总价区间覆盖1502万至2554万。截至发稿,金融城8号网签量依然是0套,甚至有24套住宅已抵押。






此次取证引人瞩目的,是项目罕见的“半栋取证”模式。根据官方预售信息,金融城8号本次仅取得了楼栋5-27F的预售资格,共计推出88套房源。但实际上,该项目的住宅楼栋总层数达46F,设计高度约160米,这意味着楼栋28-46F的高层部分暂未取得预售许可。
这一特殊取证方式,与成都现行的商品房预售政策形成鲜明对比。根据2023年8月28日成都市住建《关于优化商品房销售政务服务工作的通知》规定,将原本超过3万平米才能申请预售的规定,改为了最低规模可按栋办理。此后,成都商品房预售许可的最低规模一直按“栋”办理,特殊情况需经住建部门特批。
针对这一情况,项目对外推广时给出的解释是:开发商自留或对塔尖客群进行深度筛选。

查阅金融城8号报规的总平面图可知,该项目于2013年取得了98米以下建设工程规划许可证和建筑工程施工许可证,符合当下“五证齐全、资金达标、进度合规、资金监管”的预售许可条件。但制约其整栋取证的关键,在于一项特殊的航空限高规定。
依据相关函件,该项目在机场运营阶段,建筑物绝对海拔高程不得超过592米(建筑高度约98米),待机场永久关闭后,可按674.12米的绝对海拔高程进行设计与施工(建筑高度约180米)。
这也就意味着,楼栋98米以上(即28-46F)的部分,目前暂不具备合法建设及预售的条件。
金融城8号由成都泓昌嘉泰房地产有限公司(以下简称:泓昌嘉泰)开发。泓昌嘉泰成立于2009-06-30,法定代表人、执行董事、经理为韩黎,注册资本为1亿元,经营范围包含:房地产开发经营;非居住房地产租赁;物业管理等。
目前,泓昌嘉泰由海南誉浪项目管理有限公司持股100%,海南誉浪项目管理有限公司由杭州川悦企业管理咨询合伙企业(有限合伙)、四川鸿铠建设项目管理有限公司分别持股99%、1%。四川鸿铠建设项目管理有限公司由韩黎、陈宾容、崔颖分别持股60%、30%、10%。

中国执行信息公开网显示,泓昌嘉泰共有8条被限制高消费记录,立案时间横跨2017年至2021年。

财经号声明: 本文由入驻中金在线财经号平台的作者撰写,观点仅代表作者本人,不代表中金在线立场。仅供读者参考,并不构成投资建议。投资者据此操作,风险自担。同时提醒网友提高风险意识,请勿私下汇款给自媒体作者,避免造成金钱损失,风险自负。如有文章和图片作品版权及其他问题,请联系本站。
