白云电器增资至约5.4亿
财经号APP
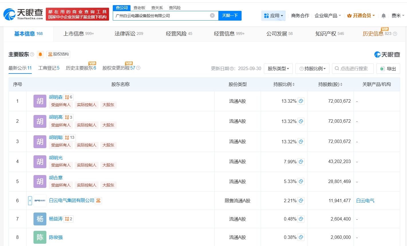
雷达财经讯,天眼查App显示,近日,白云电器(603861)发生工商变更,胡德兆卸任法定代表人,由胡明聪接任,同时,注册资本由约4.9亿人民币增至约5.4亿人民币,增幅约10%。
广州白云电器设备股份有限公司成立于1989年7月,经营范围包括输配电及控制设备制造、配电开关控制设备制造、电力设施器材制造等。股东信息显示,该公司由胡明森、胡明高、胡明聪等共同持股。



财经号声明: 本文由入驻中金在线财经号平台的作者撰写,观点仅代表作者本人,不代表中金在线立场。仅供读者参考,并不构成投资建议。投资者据此操作,风险自担。同时提醒网友提高风险意识,请勿私下汇款给自媒体作者,避免造成金钱损失,风险自负。如有文章和图片作品版权及其他问题,请联系本站。
0条评论 网友评论文明上网,理性发言
查看更多评论
