乐华未持有王一博商标
财经号APP
雷达财经讯,近日,有消息称王一博与乐华娱乐续约,引发关注。
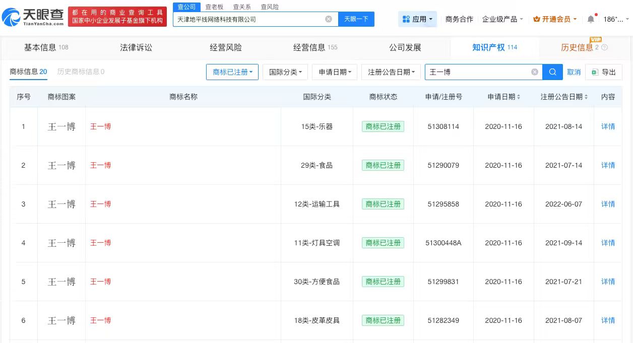
天眼查App显示,王一博名下天津地平线网络科技有限公司已申请注册“王一博”相关商标,国际分类涉及乐器、食品、运输工具等,当前商标状态多为已注册。而乐华娱乐关联北京乐华圆娱文化传播有限公司名下并无“王一博”相关商标。
此外,乐华娱乐(02306.HK)招股书曾披露,王一博为乐华训练生计划毕业生,艺人管理合同初始期限为2014年10月至2022年10月,已续期四年至2026年10月止。

财经号声明: 本文由入驻中金在线财经号平台的作者撰写,观点仅代表作者本人,不代表中金在线立场。仅供读者参考,并不构成投资建议。投资者据此操作,风险自担。同时提醒网友提高风险意识,请勿私下汇款给自媒体作者,避免造成金钱损失,风险自负。如有文章和图片作品版权及其他问题,请联系本站。
0条评论 网友评论文明上网,理性发言
查看更多评论
