蚂蚁集团旗下公司等入股幺正量子 后者为量子计算机研发商
财经号APP

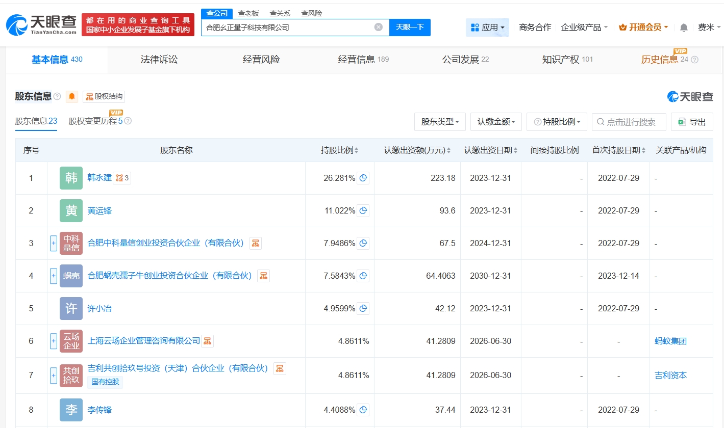
雷达财经讯,天眼查App显示,近日,合肥幺正量子科技有限公司发生工商变更,新增蚂蚁集团旗下上海云玚企业管理咨询有限公司、吉利共创拾玖号投资(天津)合伙企业(有限合伙)等为股东。
该公司成立于2022年7月,法定代表人为贺冉,经营范围含量子计算技术服务、软件开发、货物进出口等,现由韩永建、黄运锋及上述新增股东等共同持股。
公开信息显示,该公司是一家专注于离子阱量子计算机研发的科技公司,由中国科学技术大学、中科院量子信息重点实验室的多位教授和博士共同创办。




财经号声明: 本文由入驻中金在线财经号平台的作者撰写,观点仅代表作者本人,不代表中金在线立场。仅供读者参考,并不构成投资建议。投资者据此操作,风险自担。同时提醒网友提高风险意识,请勿私下汇款给自媒体作者,避免造成金钱损失,风险自负。如有文章和图片作品版权及其他问题,请联系本站。
0条评论 网友评论文明上网,理性发言
查看更多评论
