首页 手机网
入驻财经号 登录 客服 |
首页> 财经> 正文

华策注册多枚田栩宁关联商标

财经号APP
雷达Finance雷达Finance 2026-04-15 11:46:07 170
分享到:

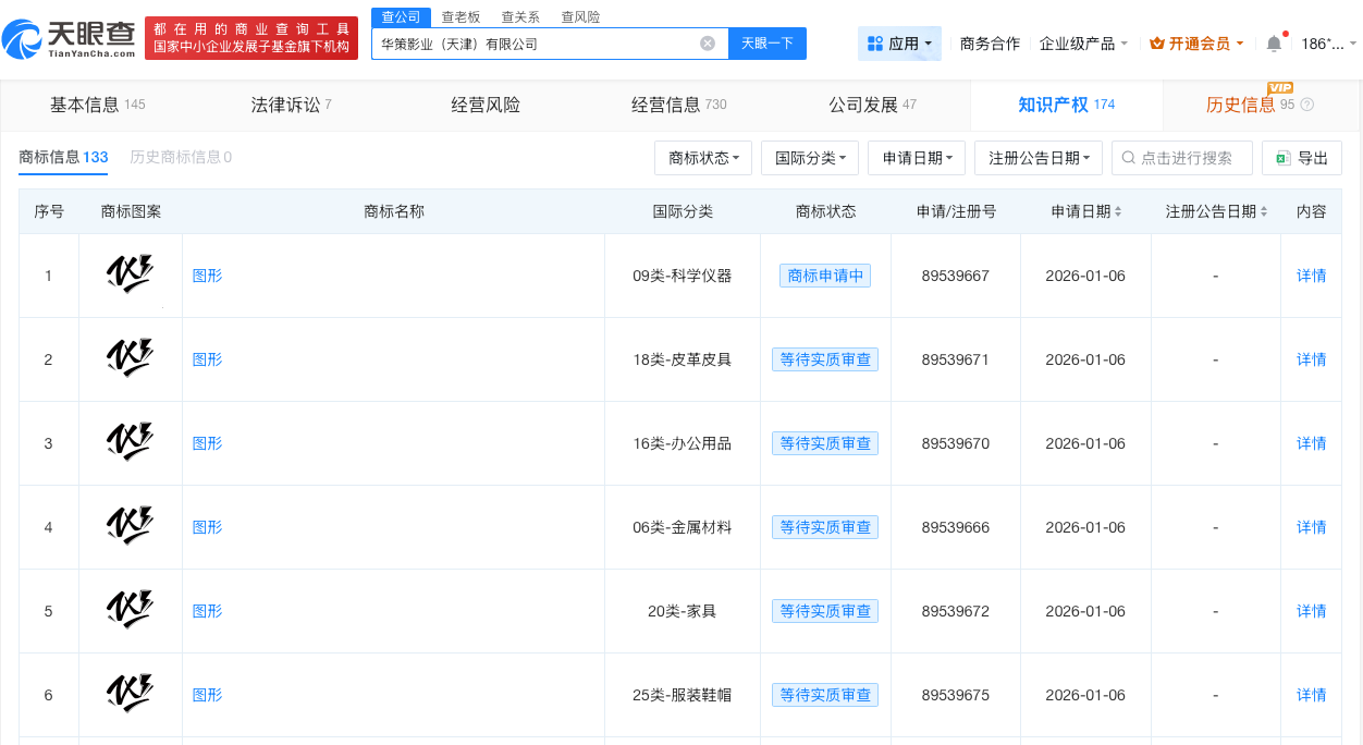
雷达财经讯,天眼查知识产权信息显示,近日,华策影业(天津)有限公司申请注册多枚“TXN”商标,国际分类涉及科学仪器、皮革皮具、办公用品等,当前商标状态均为等待实质审查。

值得注意的是,“TXN”为田栩宁名字拼音首字母。

微信图片_20260415105151_10434_27.png

微信图片_20260415105151_10435_27_副本.jpg

财经号声明: 本文由入驻中金在线财经号平台的作者撰写,观点仅代表作者本人,不代表中金在线立场。仅供读者参考,并不构成投资建议。投资者据此操作,风险自担。同时提醒网友提高风险意识,请勿私下汇款给自媒体作者,避免造成金钱损失,风险自负。如有文章和图片作品版权及其他问题,请联系本站。

0条评论 网友评论文明上网,理性发言

中金登录 微博登录 QQ登录

    查看更多评论

    举报此人

    X
    确认
    取消

    热门视频换一批

    温馨提示

    由于您的浏览器非微信客户端浏览器,无法继续支付,如需支付,请于微信中打开链接付款。(点击复制--打开微信--选择”自己“或”文件传输助手“--粘贴链接--打开后付款)

    或关注微信公众号<中金在线>底部菜单”名博看市“,搜索您要的作者名称或文章名称。给您带来的不便尽请谅解!感谢您的支持!

    复制链接

    鲜花打赏 X

    可用金币:0

    总支付金额:0

    您还需要支付0
    我已阅读《增值服务协议》
    确认打赏

    1鲜花=0.1元人民币=1金币    打赏无悔,概不退款

    举报文章问题 X
    参考地址

    其他问题,我要吐槽

    确定

    温馨提示

    前往财经号APP听深入解析

    取消 确认