王子杰未持有丝芭股份
财经号APP

雷达财经讯,据报道,4月16日,上海丝芭文化传媒集团有限公司发布官方讣告。
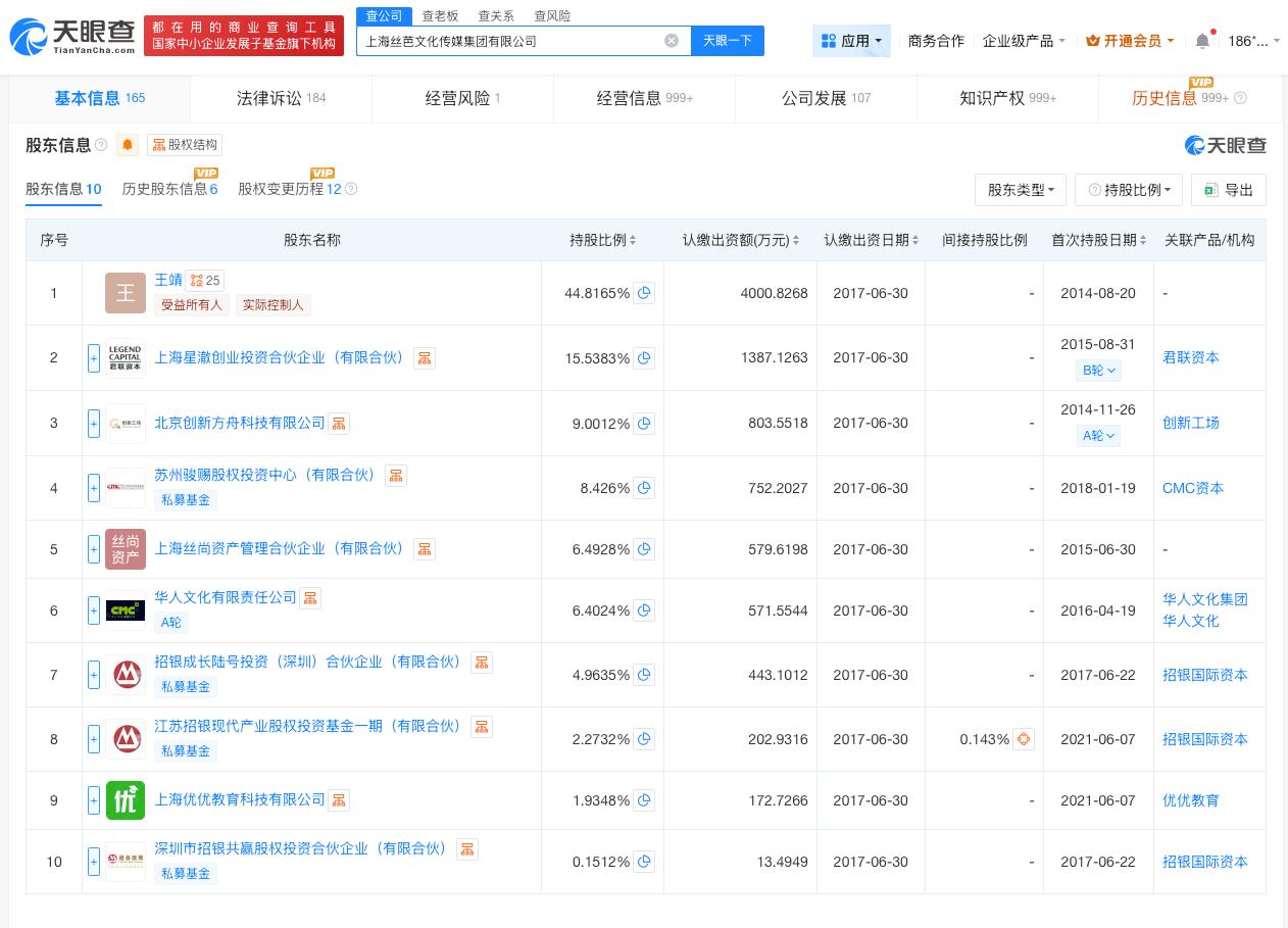
天眼查App显示,上海丝芭文化传媒集团有限公司成立于2010年5月,法定代表人为王靖,注册资本约8927万人民币,经营范围包括营业性演出、演出经纪、广播电视节目制作经营等,由王靖、上海丝尚资产管理合伙企业(有限合伙)等共同持股。此外,该公司实际控制人、最终受益人均为王靖。
公开信息显示,王靖为王子杰妹妹。


财经号声明: 本文由入驻中金在线财经号平台的作者撰写,观点仅代表作者本人,不代表中金在线立场。仅供读者参考,并不构成投资建议。投资者据此操作,风险自担。同时提醒网友提高风险意识,请勿私下汇款给自媒体作者,避免造成金钱损失,风险自负。如有文章和图片作品版权及其他问题,请联系本站。
0条评论 网友评论文明上网,理性发言
查看更多评论
