东方甄选仍持有多位离职主播商标
财经号APP

雷达财经讯,据媒体报道,近日,东方甄选短短两天时间,4名核心主播明明、天权、中灿、林林先后宣布离职,矛头指向东方甄选现任管理层管理风格的改变,此前,董宇辉、顿顿、孙东旭已从东方甄选离职。
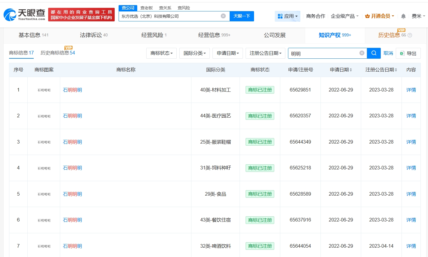
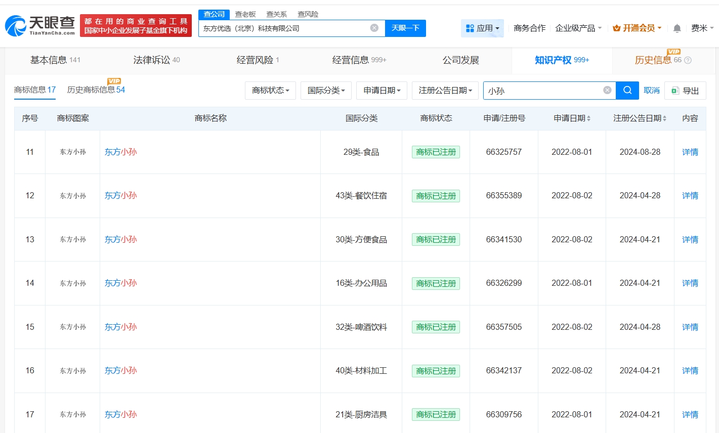
天眼查知识产权信息显示,东方甄选关联公司东方优选(北京)科技有限公司已注册“东方小孙”“王若顿”“石明明明”商标,国际分类包括材料加工、医疗园艺、服装鞋帽等。值得一提的是,此前,该公司还曾注册多枚“董宇辉”相关商标,目前已转让至董宇辉公司。




财经号声明: 本文由入驻中金在线财经号平台的作者撰写,观点仅代表作者本人,不代表中金在线立场。仅供读者参考,并不构成投资建议。投资者据此操作,风险自担。同时提醒网友提高风险意识,请勿私下汇款给自媒体作者,避免造成金钱损失,风险自负。如有文章和图片作品版权及其他问题,请联系本站。
0条评论 网友评论文明上网,理性发言
查看更多评论
