国美金融业务加速整合:盈美信科更换法人 上市板块CFO接任

作者| 观察团
来源 | 新经济观察团

今年初,业内传出国美金融业务由黄光裕亲自接手的消息。随后,国美旗下的一系列金融类公司动作频频,调整加速进行。
今年7月底,在港上市的国美金融科技(00628.HK)曾发布公告,公司多个高管职务变更;9月,又宣布展开若干新业务线的收购,并计划更名为“通通AI社交集团”。11月4日,国美金融科技正式更名为“通通AI社交”,业务从金融服务转向AI和产业互联网。
同时,新经济观察团发现,近日国美旗下两家涉金融业务的公司,都变更了法人。
其中,11月14日,盈美信科技投资有限公司(以下简称“盈美信科”)法定代表人从“陈萍”变更为“宋晨曦”;11月6日,北京国美融通科技有限公司(以下简称“国美融通”)的法定代表人也从“陈萍”变更为“宋晨曦”。国美融通是盈美信科的全资子公司。
公开资料显示,陈萍现任北京中关村科技发展(控股)股份有限公司董事,国美控股集团有限公司副总裁。而宋晨曦的对外职务为国美金融科技的执行董事、首席财务官。
由此合理推测,国美和黄光裕正致力于将其原本凌乱分散的两大金融业务板块——即盈美信科(原国美金融)和国美金融科技,逐步梳理整合到一起:
盈美信科或将是国美金融业务的主要承担者;国美金融科技在完成更名后,重心不再是金融业务。宋晨曦作为国美金融科技的执行董事,也将在盈美信科中发挥重要作用。这整体上也符合监管对大型互联网金融平台的合规要求。
01
盈美信科旗下美易借钱:放款利率贴近36% 提供会员卡、信用报告查询服务
其中,盈美信科原名为国美金控投资有限公司、国美信科技投资有限公司,即原来的“国美金控”,成立于2014年9月,实缴资本8.5亿元。盈美信科唯一股东为北京鹏润投资有限公司,后者实控人为国美集团创始人黄光裕。
企查查显示,盈美信科旗下有五个APP,分别为美易借钱、国美金融、国美基金、国美天眼和盈美信科OA。而“美易借钱”是盈美信科的主要信贷产品,在业内知名度很高,原名为“国美易卡”。
“美易借钱”的牌照主体为国美小额贷款有限公司(以下简称“国美小贷”)。国美小贷目前实缴资本仅为5.3亿元,与《网络小额贷款业务管理暂行办法(征求意见稿)》中对开展网络小贷业务的最低实缴资本10亿元的门槛有较大差距。

在美易借其APP内,页面已经极度简化,仅剩借款、还款、优惠券、风险自查、健康管理
不过,目前美易借钱展示的年化利率上限依旧贴近36%,远高于市面上大部分正规金融机构24%以下的贷款利率。
新经济观察团查看美易借钱相关用户协议发现,其消费金融服务由国美融通联合博盛安融(即博盛安融(天津)融资担保有限公司)等担保机构及合作的授信机构与资金方,共同为用户提供服务。而博盛安融也是盈美信科的全资子公司。
据此前开甲财经的报道,美易借钱合作的资金方包括:国美小贷、哈银消费金融、新网银行、浙商银行、亿联银行、西安银行、蓝海银行、亿联银行、金美信消、大兴安岭农商行等等。
除了贷款和助贷业务,新经济观察团发现,美易借钱仍在提供“会员卡”服务。

在“优惠券”入口内,美易借钱提供了多个音视频平台的会员购买服务,但笔者尝试充值,却被提示“非会员不可充值”。此外,在美易借钱的用户服务协议内,还嵌套了一份《超级会员服务协议》,显示仅针对具有良好信用和平台使用记录的用户开放资格。
这些会员权益包括利息见面卡券、利息折扣卡券、现金券等,以及合作的第三方会员权益。而在用户开通超级会员服务后,还将获得补充特权的权利,需要用户额外付费,能享受重审特权券、折扣券、免息券等等。也就是说,用户开通超级会员后再继续升级,就能享受更多贷款方面的优惠。
据7月份禾金财经的报道,超级会员月卡的价格跨度很大,最低的为99元,最高的为1619元。在进入开通页面后,还会默认选择一份价值249元的“会员加油包四星卡”。
在业内,会员费、保费等作为一种风险前置手段由来已久,但也因会增加借款人融资成本,变相增加借款利息而处于灰色地带。
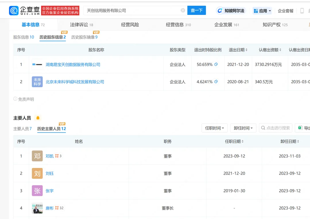
此外,美易借钱还提供“风险自查”、“风险报告”相关服务,合作方为天创信用服务有限公司、海南凤凰木科技有限公司。
其中,天创信用是一家大数据公司,成立于2015年,为易宝支付内部孵化的公司。
企查查显示,易宝支付创始人唐彬曾为天创信用董事长,2023年9月12日卸任。湖南易宝天创数据服务有限公司也曾持有天创信用超50%的股权,2021年退出。

官网显示,天创信用已经为数十家银行(如兴业银行、广发银行、中信银行、民生银行、浦发银行、百信银行)、数百家非银持牌金融机构(如招联消金、捷信消金、苏宁消金、北银消金、中邮消金等)提供了反欺诈、信用评分、用户画像、企业信用报告等产品和服务。
而海南凤凰木科技有限公司隶属于鹏元征信,后者是获批开展个人征信试点业务的8家机构之一,也是百行征信的股东之一。2020年底,鹏元征信因两宗违法违规行为,被央行没收违法所得1917.549929万元,并处罚款62万元。作出行政处罚决定的日期是2020年12月22日。
也就是说,在美易借钱贷款的用户,除了贷款利息,可能还要承担额外的担保费、会员费、报告查询费等额外费用,因此在投诉平台上大量被质疑利率过高。
除了上述服务,美易借钱的“健康管理”业务实际为保险服务,品牌名为“美云保”,运营方为美云保(北京)科技服务有限公司,该公司也是盈美信科的全资子公司。而国美此前已经拿下了一张保险经纪牌照——国美保险经纪有限公司。
02
国美金融科技转型 国美金融业务将挑大梁?
国美的另一块金融业务主体,即在刚上市的国美金融科技,曾经是国美商业保理和融资租赁业务的承担者。但在很长一段时间,该公司业绩不佳。
2023上半年,国美金融科技实现营收3955.7万元,实现净亏损223万元;2020-2022年,分别实现净利润0.14亿元、-1.28亿元、-0.06亿元。
2024年上半年,国美金融科技收入6080.4万元,同比增长53.71%;股东应占溢利2527.5万元,去年同期则取得亏损222.9万元,实现扭亏为盈。
公司表示,业绩的显著改善主要得益于两个方面:一是金融服务业务的扩大,预期将确认收入增加;二是外汇汇率波动降低,预期将录得汇兑亏损减少。
但在业绩大涨之后,国美金融科技却宣布战略升级,要凭借自身以及控股股东在互联网金融领域积累的丰富技术、品牌美誉及供应链,加速转型至综合性社交互联网平台业务。
而这背后,大概率是顺应国美梳理整合旗下金融业务的举措。
作为曾经的零售巨头,国美开展金融业务本来水到渠成,一方面其拥有天然的消费场景和海量用户基础,另一方面又手握消费金融、小额贷款、支付、保险经纪等多张金融牌照,为合规基础上开展业务打下基础。
但问题在于,国美的金融业务错综复杂,牌照所属的公司又被划给多个体系,很多业内人士都表示“看不明白”。这导致其金融产品在内部就产生竞争和资源浪费,更无法形成合力在市场上站稳脚跟,对外行业竞争不足,无法吸引头部机构合作。这种内耗和浪费,也是国美的金融业务“起个大早,赶个晚集”的原因。
如今,国美能拿得出手的拳头产品,或许只有盈美信科旗下的美易借钱。
盈美信科官网显示,目前其普惠信贷规模超过1000亿元,注册用户数4500万+,支持小微用户超百万家。而仅美易借钱的注册用户数IU超过4000万,月活跃用户数达到300万,可见其在国美金融体系中的突出地位。

而在国美集团摇摇欲坠之下,金融业务的主要性也更加凸显。在2024年上半年,国美收入为1.69亿元,同比降低59.28%;归属于母公司所有者的应占亏损为44.32亿元,去年同时期为35.39亿元。
与此同时,国美表示,截至报告期末,国美零售已逾期计息银行及其他借款(包括应付债券)本金金额共约188亿元。涉及的未决诉讼案件共计1435宗,涉及金额共约130亿元,其中银行及金融机构未决诉讼案件涉及金额共约106亿元。
面对集团业绩滑坡、债务危机等困境,国美通过金融业务的高利息获取回血、喘息乃至弯道超车的机会,也不失为一种可行之计。秉承场景、用户和牌照优势,国美和黄光裕或许还有杀进行业前排的机会。但我们也提醒他们,要做好面对金融风险和强监管的充分准备。
*声明:新经济观察团登载此文出于传递更多信息之目的,不构成任何建议。原创文章未获授权不得转载。
财经号声明: 本文由入驻中金在线财经号平台的作者撰写,观点仅代表作者本人,不代表中金在线立场。仅供读者参考,并不构成投资建议。投资者据此操作,风险自担。同时提醒网友提高风险意识,请勿私下汇款给自媒体作者,避免造成金钱损失,风险自负。如有文章和图片作品版权及其他问题,请联系本站。
