“世界铜王”王文银两次被“限高”:曾跻身全球富豪榜,如今正威面临危机
“世界铜王”王文银又体验了一次“限高人员一日游”。
这是王文银今年第二次成为“限高人员”,哪怕在短时间内解除了相关限制,或也彰示着他和他的铜产业衍生帝国正在面临危机。
红星资本局注意到,今年以来,深圳正威(集团)有限公司(下称“正威集团”)多次被列为被执行人,投资企业的股权多次遭到冻结,甚至牵连王文银在上市公司的表决权也被限制。
“世界铜王”两次成为“限高人员”
现年55岁的王文银是正威集团的创始人,也是正威新材(002201.SZ)的实际控制人。因旗下企业拥有超高铜矿储量,他被称为“世界铜王”。
在2023年胡润全球富豪榜中,王文银以1050亿元财富值排在第108名,这么一位跻身于全球富豪榜的企业家却在近期两度成为“限高人员”。

王文银在胡润全球富豪榜排在第108名
10月18日晚间,正威新材发公告称,因宁德市交投实业发展有限公司(下称“宁德交投”)申请执行正威集团合同纠纷一案,据相关法院的《限制消费令》,王文银及正威集团不得实施如乘坐飞机等高消费及非生活和工作必须的消费行为。
红星资本局通过裁判文书网查询发现,目前,宁德交投与正威集团合同纠纷案的具体情况并未披露。
不过,今年3月,中共宁德市纪律检查委员会在官网发表过对相关巡察整改情况的通报,其中提及“关于正威项目风险隐现的问题”。
上述通报称,今年1月,宁德交投曾向法院申请支付令,要求正威集团等支付2021年投资收益3866万元,经沟通后正威集团支付了1000万元。不过,因正威集团等提出异议,法院终止支付令。支付令失效后转入诉讼程序,截至3月已立案。
此次的《限制消费令》或与该案尚未支付的2866万元有关,但王文银“限高人员”的身份没有维持太长时间。
10月19日,正威新材再发公告称,经正威集团与相关方沟通协调并妥善处理相关事宜,现经查询中国执行信息公开网公示信息,王文银及正威集团相关事宜被纳入限制高消费已解除。
红星资本局注意到,这是王文银今年第二次成为“限高人员”。和上次一样的是,王文银的“限高人员”身份未持续几天,正威集团就已出面沟通并解决相关事件。
(详见此前报道《“世界铜王”被限高?世界500强正威集团、上市公司正威新材回应》)
目前,在中国执行信息公开网已查询不到王文银及正威集团的相关限制高消费结果。
股权多次被冻结,表决权也遭到限制
哪怕解除了限制高消费的限制,王文银及正威集团的处境仍然不妙。
天眼查APP显示,正威集团分别于9月22日、10月9日增加了2条被执行人信息,执行标的为2.64亿元和0.6亿元,被执行总金额共3.24亿元。
从正威集团持股的上市公司兰州银行(001227.SZ)也可窥见其财务状况。
截至6月30日,正威集团持有兰州银行2.46亿股股份,约占总股本的4.32%,是兰州银行的第六大股东。但是,正威集团持有的所有股份均处于质押并冻结状态。
以10月20日的收盘价(2.99元/股)计算,这些被质押并冻结的股份市值约为7.36亿元。
兰州银行还曾发公告称,由于正威集团持有其股份质押率超过持有股份的50%,根据有关监管规定,限制正威集团提名董事王文银的表决权。
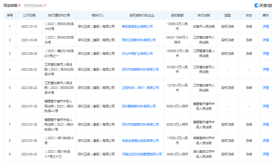
红星资本局还通过天眼查APP注意到,今年以来,正威集团多次成为被执行人,且被法院冻结其相关股权,相关股权数额共计约26.91亿元。
以河北中铜矿业有限公司为例,该公司为正威集团的全资子公司,注册资本为10亿元。9月28日,江西省莲花县人民法院公示冻结其股权及其他投资权益,涉及股权数额为10亿元。

截图自天眼查
不过,红星资本局在裁判文书网发现,除了前述支付令外,现在暂无法搜索到更多涉及正威集团的判决书。
10月20日、10月21日,红星资本局多次拨打正威集团披露的电话,但始终无人接听。
值得一提的是,今年9月,中华全国工商业联合会发布《2022中国民营企业500强榜单》,其中,正威国际集团有限公司以6088亿元的营收位列第4名,力压腾讯、联想及比亚迪等企业。
[注:正威国际集团有限公司的注册地在中国香港,与前述的正威集团无股权关系,但公众号“正威国际集团”的认证企业为深圳正威(集团)有限公司,两家企业或会混用。]
坐拥年营收超过6000亿元的企业,王文银为什么会两度成为“限高人员”?为什么在成为“限高人员”后正威集团才去找相关企业沟通、解决问题?
董秘火速辞职后王文银代行职责
有意思的是,王文银第二次成为“限高人员”,可以说是由正威新材主动曝光的。
10月18日,正威新材称,其就此向王文银及正威集团专函询问相关情况,并依照相关规则请其就“最近一年是否存在大额债务逾期或违约记录及金额,是否存在主体和债项信用等级下调的情形,因债务问题涉及的重大诉讼或仲裁情况”等给予回复。
截至发稿,正威新材还未披露王文银及正威集团的回复,但其董事会秘书曹亚伟已离职。
同样是在10月18日,正威新材发公告称,其于近日收到曹亚伟提交的书面辞职报告,他因工作职能调整及个人原因申请辞去董事会秘书职务,辞职后仍担任董事及副总经理职务。
而在曹亚伟辞职后,代行董事会秘书职责的正是王文银。
需要说明的是,2022年11月,曹亚伟曾因以近3000字长文在互动易平台回复投资者一举成名,但相关回答现在已删减至不到1000字。
当时,正威系列公司实质上拥有的铜矿资源被质疑没有宣传所说的那么多,就有投资者问:“公司控股股东正威国际7200亿营收具体是什么?在国内各处的投资是否真的在进行中?”
曹亚伟回答称,“说真的,您不应该把涉及大股东的问题在上市公司互动易平台提出来。一方面,我不应该越俎代庖;另一方面,大股东及其大股东早已构建了强大的、分工明晰的、权责分明的职业化团队,我更不应该随意代替他们发表评论。”
据界面新闻报道,在未删减的回答中,曹亚伟当时称,基于所属国家特定的法律和监管环境,矿产资源没有必要生搬硬套地置备于正威集团名下。但他并未回答铜矿的具体分布及所属公司。
正威到底有多少铜矿资源?
红星资本局注意到,公众号“正威国际集团”曾转载过一篇来自另一公众号“徽商传媒”的文章,其中称,王文银掌控了全球5%的铜矿资源储量。
另据每日经济新闻援引2016年《微商》杂志报道,正威集团拥有的铜矿总储量在3000万吨左右,相当于当年中国铜矿总储量的30%。
不过,2018年11月,来自中国地质科学院矿产资源研究所、自然资源部成矿作用与资源评价重点实验室等的学者在《地质与勘探》上发表论文《中国海外权益铜矿分析》。
该论文引用了标普全球市场财智统计称,截至2017年年底,中国海外权益铜矿项目约50个,权益铜矿储量为4441.8万吨,权益产量112.5万吨。
该论文还称,中国冶金科工集团有限公司(下称“中冶集团”)等是中国海外铜矿收购的“八大金刚”,全文未提到过正威集团。
正威集团的官网及官方公众号显示,其现在已不再是单一的铜产业模式,而是由产业经济发展起来的以新一代电子信息和新材料完整产业链为主导的高科技产业集团。
不过,通过天眼查APP查看正威集团的股权冻结情况,其对外投资了159家公司,现有9家公司的股权被冻结,涉及铜产业、新材料产业等领域。
红星新闻记者 杨佩雯
编辑 余冬梅
(下载红星新闻,报料有奖!)
财经号声明: 本文由入驻中金在线财经号平台的作者撰写,观点仅代表作者本人,不代表中金在线立场。仅供读者参考,并不构成投资建议。投资者据此操作,风险自担。同时提醒网友提高风险意识,请勿私下汇款给自媒体作者,避免造成金钱损失,风险自负。如有文章和图片作品版权及其他问题,请联系本站。
