鸿蒙智行第五“界”来了?上汽申请“尚界”商标,阿维塔注册“塔界”“势界”
红星资本局1月27日消息,天眼查APP显示,近日,上海汽车集团股份有限公司(600104.SH)提交了“尚界”“上汽尚界”等多枚商标。阿维塔科技(重庆)有限公司日前也申请注册多枚“塔界”“势界”商标,商标状态均为等待实质审查。
这两家车企都是华为的合作伙伴,且近期在深化合作,探索新的合作模式,加上新的“界”字辈商标,引发外界对鸿蒙智行第五“界”的猜测。
不过,对于申请注册“塔界”“势界”商标,阿维塔相关负责人此前向红星资本局表示,目前阿维塔与华为的合作还没有变化,有待官方通知。
资料图 图据视觉中国
上汽拥抱华为
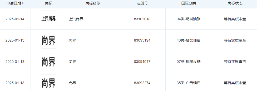
上汽申请的“尚界”商标,国际分类涉及机械设备和广告销售等,商标状态均为等待实质审查。而早在2023年11月,华为已经申请了两枚“尚界”商标,其中一枚商标分类是12类“运输工具”,目前商标状态为初审公告,尚未注册成功;另一枚已于2024年12月公告注册完成,商标分类是9类,包括计算机、汽车导航装置、运载工具用自动转向装置、电动汽车电池等。

去年年底,有消息称,上汽正与华为进行密切接触,由上汽集团总裁贾健旭亲自带队,或开辟华为目前与车企的三种合作模式(供应商、HI、智选车)以外的全新模式,甚至不排除上汽将战略投资华为子公司引望的可能。
今年1月初,有消息称,上汽集团与华为的合作将最先在飞凡车型上落地。首批已有40多位华为方人士进驻上汽,计划在飞凡汽车内部代号为ES37的纯电SUV上引入华为的全套方案。
截至目前,上汽与华为的深入合作一直没有得到官方证实。不过双方此前已有合作先例。上汽旗下飞凡R7车型搭载了华为视觉增强AR-HUD平视系统,上汽奥迪也已经开始搭载华为的智驾技术。
从反对与华为合作到拥抱华为,上汽正面临销量与利润双降,连续18年销冠被比亚迪(002594.SZ)终结的现实变化。
2021年,上汽时任董事长陈虹提出了“灵魂说”,反对与华为等第三方公司在自动驾驶领域的合作。在那个时间节点,上汽集团2021年营业总收入同比增长5.1%;净利润245.3亿元,同比增长20.1%;终端交付量超581万辆,同比增长5.5%。
2024年,上汽集团整车批发销量401.3万辆,同比减少20.07%;终端交付量463.9万辆;预计净利润为15亿元到19亿元,同比减少87%到90%。
阿维塔深化与华为的合作
智选车模式是华为介入最深的合作模式,华为不仅参与车型的定义设计,提供智能化等关键技术,还为新车提供华为的渠道进行销售。目前华为与赛力斯(601127.SH)、奇瑞、北汽和江淮汽车(600418.SH)分别成立了问界、智界、享界和尊界四大品牌,这“四界”组成了鸿蒙智行联盟。
2024年,鸿蒙智行累计交付44.5万辆。2024年,赛力斯销量为49.7万辆,同比增长96.98%;其中新能源汽车销量为42.69万辆,同比增长182.84%。赛力斯预计2024年实现营收1442亿元至1467亿元,同比增长302.32%至309.3%;净利润55亿元至60亿元,扭亏为盈。
阿维塔是由华为、长安汽车(000625.SZ)和宁德时代(300750.SZ)共同打造的高端新能源品牌,采用的是华为“HI”合作模式。
2024年,阿维塔的销量为7.36万辆,同比增长约100%。长安汽车公告披露,2022年、2023年和2024年前八个月,阿维塔分别净亏损20.15亿元、36.93亿元和21.21亿元,合计亏损78.29亿元。2021年-2023年,阿维塔完成了三轮融资,累计融资金额约80亿元。截至2024年8月末,公司的资产负债率已达到100.2%。阿维塔计划在今年三四季度实现盈亏平衡。
阿维塔正一边加强与华为的合作,加强“造血”能力,一边由股东和外部“输血”。
去年8月,阿维塔以115亿元入股华为车BU分拆的独立公司深圳引望,获取后者10%的股份,以及1个董事会席位。去年12月,阿维塔与华为签署了全面深化战略合作协议,决定以新模式推动合作迈入新阶段。根据协议,双方将在产品开发、营销及生态服务等领域深度合作,支持阿维塔打造下一代系列车型。
去年12月,阿维塔宣布完成超110亿元C轮融资,由长安汽车、渝富系基金、南方资产系基金、国投系基金、交银投资以及其他战略和市场化投资人共同出资,并同步开启上市准备工作,拟于2026年IPO上市。
华为常务董事、智能汽车解决方案BU董事长余承东曾公开表示,短期内,鸿蒙智行“界”字辈品牌不会扩容:“想合作的厂家很多,但精力有限,暂时只能合作四家,做四个智能汽车的样板。”
红星新闻记者 吴丹若
编辑 邓凌瑶
(下载红星新闻,报料有奖!)
财经号声明: 本文由入驻中金在线财经号平台的作者撰写,观点仅代表作者本人,不代表中金在线立场。仅供读者参考,并不构成投资建议。投资者据此操作,风险自担。同时提醒网友提高风险意识,请勿私下汇款给自媒体作者,避免造成金钱损失,风险自负。如有文章和图片作品版权及其他问题,请联系本站。
