腾讯等入股美团旗下成都龙珠,后者为宇树科技、星海图背后投资人
微成都报道 近日,美团旗下成都龙珠股权投资基金合伙企业(有限合伙)(简称“成都龙珠”)发生工商变更,新增腾讯产投、中金睿盛、杭州文创等企业为股东。
▲图源:Wind
Wind平台显示,本次融资公司引入五家重量级股东:深圳市腾讯产业投资基金有限公司(简称“腾讯产投”)、中金睿盛(海宁)股权投资合伙企业(有限合伙)(简称“中金睿盛”)、杭州文化创意产业创业投资管理有限公司(简称“杭州文创”)、成都美珠企业管理有限责任公司(简称“成都美珠”)以及宁波梅山保税港区飞珠股权投资合伙企业(有限合伙)(简称“宁波飞珠投资”)5家企业分别出资1亿元、0.5亿元、0.3亿元、0.23亿元和0.02亿元,持股比例分别为4.34%、2.17%、1.3%、1.01%和0.09%。
股权变更后,美团旗下天津三快科技有限公司(简称“天津三快”)仍保持43.42%的控股地位,朱拥华为成都龙珠实际控制人。
天眼查APP显示,成都龙珠成立于2022年,出资额23.03亿元,经营范围包含以私募基金从事股权投资、投资管理、资产管理等活动。
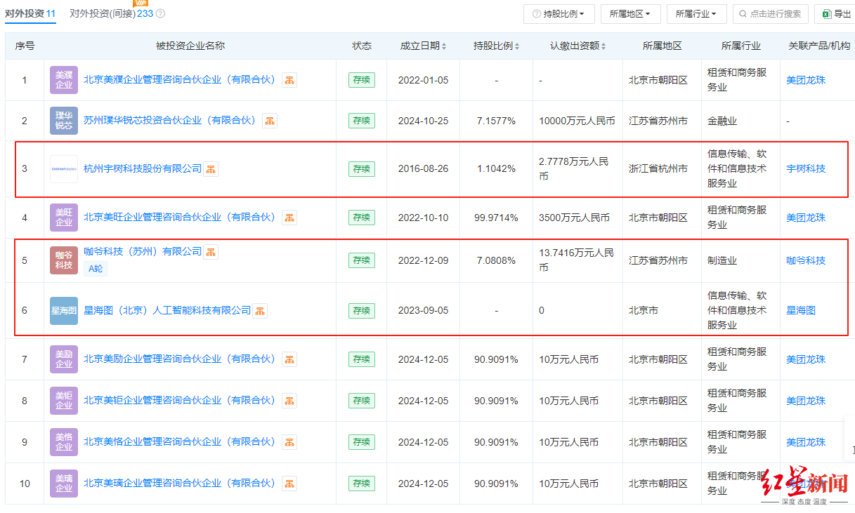
近年来,美团带领成都龙珠频繁投资机器人等科技公司,已投资了杭州宇树科技股份有限公司(持股比例1.10%)、咖爷科技(苏州)有限公司(持股比例7.08%)、星海图(北京)人工智能科技有限公司(简称“星海图”)等11家企业。
▲图源:天眼查
编辑 侯春萍
(下载红星新闻,报料有奖!)
财经号声明: 本文由入驻中金在线财经号平台的作者撰写,观点仅代表作者本人,不代表中金在线立场。仅供读者参考,并不构成投资建议。投资者据此操作,风险自担。同时提醒网友提高风险意识,请勿私下汇款给自媒体作者,避免造成金钱损失,风险自负。如有文章和图片作品版权及其他问题,请联系本站。
