万达集团被恢复执行17亿元,被执行总金额超69亿元
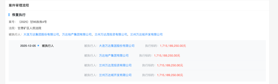
红星资本局12月8日消息,据天眼查,近日,大连万达集团股份有限公司、万达地产集团有限公司等新增1条恢复执行信息,执行标的17亿余元,执行法院为甘肃矿区人民法院。
图据天眼查
大连万达集团股份有限公司成立于1992年9月,法定代表人为王健林,注册资本10亿人民币,经营范围包括商业地产投资及经营、酒店建设投资及经营、连锁百货投资及经营、电影院线等文化产业投资及经营等。股东信息显示,该公司由大连合兴投资有限公司、王健林共同持股。
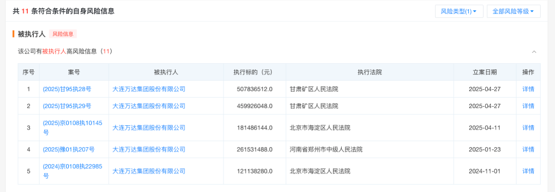
风险信息显示,目前,该公司存在10余条被执行人信息,被执行总金额超69亿元。
自9月以来,关于王健林被“限高”消息不断,红星资本局此前报道,9月11日,据中国执行信息公开网显示,大连万达新增一则被执行人信息,执行标的4亿余元,执行法院为北京金融法院。
9月28日,针对近日大连万达及其法定代表人王健林等被限制高消费一事,红星资本局从万达知情人士处获悉,此事是“由于万达下属项目公司经济纠纷导致,事实上之前双方一直在通过多种方式协商解决,我们也正在了解具体情况,本次或是因在执行层面信息不对称导致”。
9月29日,红星资本局查询中国执行信息公开网发现,已无万达集团董事长王健林“限高”信息,仅能查询到大连万达集团股份有限公司执行信息及立案时间。同时,天眼查App上王健林“限高”风险已无显示。
近期,万达还因首次赎回一座万达广场引发关注,天眼查显示,12月2日,烟台芝罘万达广场有限公司发生工商变更,新华保险旗下坤华(天津)股权投资合伙企业(有限合伙)(以下简称坤华股权投资)、坤元辰兴(厦门)投资管理咨询有限公司退出股东行列,新增上海万达锐驰企业管理有限公司为全资控股股东,同时多位高级管理人员信息发生变更。
然而,12月3日,烟台芝罘万达广场有限公司工商信息再次变更。上海万达锐驰企业管理有限公司退出股东行列,苏州联商玖号商业管理有限公司变为全资持股,法定代表人及主要人员也有变动。
这意味着,万达集团首次赎回的一座万达广场,仅一天就被转让。
资料配图 图据视觉中国
据国家市场监督管理总局网站5月消息显示,已批准太盟珠海、高和丰德等经营者收购北京银河万达企业管理有限公司等48家公司股权案。
此外,万达又零星出售位于宣城、铜陵、安阳、四平、扬州等地的多座万达广场。据贝壳财经报道,截至10月1日,累计出售的万达广场数量已经超过80座。
(本文不构成投资建议,据此操作风险自担)
编辑 杨程 综合自第一财经、中新经纬、公开资料
审核 何先菊
财经号声明: 本文由入驻中金在线财经号平台的作者撰写,观点仅代表作者本人,不代表中金在线立场。仅供读者参考,并不构成投资建议。投资者据此操作,风险自担。同时提醒网友提高风险意识,请勿私下汇款给自媒体作者,避免造成金钱损失,风险自负。如有文章和图片作品版权及其他问题,请联系本站。
