化解900亿债务风险,融创上岸了吗
近日,融创完成了逾百亿美元境外债务的重组,暂时缓解了债务压力。
从销售端来看,公司1-11月的销售额、销售面积均腰斩,总体情况并不乐观,而从中报业绩来看,公司目前处于大额亏损中,且经营现金流净流出,仍面临较大经营压力。
当房地产行业真正回暖时,才是房企真正松一口气的时候,但目前来看,仍有好长好长的一段路要走!

逾百亿美元债务完成重组
11月20日,融创完成境外债务重组,成为房地产业最早完成境外债务重组的大型房企。
自20日起,融创债权人全面解除及免除公司现有债务,逾百亿美元债务将被置换成发行新票据、可转换债券、强制可转换债券及转让现有融创服务股份。
具体来看,发行新票据金额57.05亿美元、强制可转换债券27.5亿美元、可转换债券10亿美元,另外,公司向债权人转让14.7%融创服务股份,对应金额为7.75亿美元。

据短平快解读了解,新票据、强制可转换债券及可转换债券预期将于2023年11月21日在新交所上市,而融创服务的股份转让已转至债权人账下。
12月6日,融创披露强制可转换债券之第一次转换结果,共计19.04亿美元债券完成转股,占初始金额的比例约69.23%。截至该公告日,公司股份共计8.39亿股,而去年1月9日为5.49亿股。
对比来看,最终版的重组对价方案与公司此前公布的方案差别不大,可转换债券、强制可转换债券、融创服务股份、新票据占预估计划股权的比例分别约为9.78%、26.88%、7.58%、55.76%。

今年1月,融创境内债整体展期成功,共涉及10笔存续的公司债券及供应链ABS,总金额160亿元,加权平均展期期限3.51年。
从债务违约,再到如今完成境外债务重组,融创化解债务的速度还是较快的,对于债务重组,公司发文表示,启动重组工作至今的18个月,公司获得了相关政府部门的支持,伴随着境内外债务重组全部流程顺利通过,约有900亿元人民币的债务风险得到了全面化解。未来2-3年,公司在境外公开市场无刚性还债压力。
据南方周末,债务重组后,融创第一笔展期后票据在2025年9月到期,同时公司有权延期一年,延期后将在2026年9月到期,为公司提供了近3年的喘息窗口。
境内债展期、境外债重组,为融创还债争取到了更多的时间,也减轻了现金偿还压力,但相关债务还是要还的,最终需要依靠的是房地产市场回暖,公司房产项目顺利出售,回笼资金。
销售额腰斩,新增多条失信被执行人
据国家统计局数据,1—10月份,商品房销售面积92579万平方米,同比下降7.8%,其中住宅销售面积下降6.8%至79386万平方米。商品房销售额97161亿元,下降4.9%,其中住宅销售额下降3.7%至86502。
销售额及销售面积齐齐下滑。
从融资端来看,房地产企业年内到位资金为107345亿元,同比下滑13.8%,其中利用外资仅37亿元,同比暴跌40.3%,这宣告房企想要从外资拿到钱的可能性微乎其微。
房企的资金主要依赖自筹资金、定金及预收款,分别为34781亿元、36596亿元,同比分别下滑21.4%、10.4%,销售回款才是出路。
截至11月底,融创累计实现销售合同金额约为792.8亿元,同比骤降51%;累计合同销售面积约567.1万平方米,同比骤降54%;合同销售均价13980元/平方米,同比增长6%。
根据融创官微,1-11月,公司已交付227个项目,合计约22.7万套、3400万平方米,超过去年全年。

总体来看,公司销售均价微增,但销售额、销售面积均腰斩,不足800亿元的销售额尚不及公司化解的900亿元债务风险。
今年上半年,融创实现营业收入584.73亿元,同比增长20.5%,但公司继续处于亏损中,归母净利润净亏损153.67亿元,较去年同期亏损187.6亿元有所收窄。
从最新的销售额来看,融创销售端面临的压力显然并不轻,这也是大多数房企的现状。
据短平快解读了解,2020年至2022年,融创的资产负债率稳增,分别为83.96%、89.4%、92.07%,今年上半年进一步上升至93.72%,其中资产合计10699.71亿元,而负债合计10027.39亿元,净资产仅672.32亿元。
对于偿债压力,融创在中报中指出,截至6月末,集团流动、非流动借贷金额分别为2404.2亿元、721.4亿元,而现金余额(包括现金及现金等价物及受限制现金)为348.2亿元。
两者间存在巨大差距,且公司中报的经营现金流净流出87.36亿元,而上年同期为净流入202.69亿元,即公司的造血能力下滑明显。
融创在中报还表示,截至6月末,集团未偿付借贷本金约为1101.3亿元,导致借贷总额本金约969亿元可能被要求提前还款。

事实上,除去有息负债外,房企的应付账款及票据也值得重点关注,截至6月末,融创的贸易及其他应付款项为2741.16亿元,较上年同期2569.67亿元增长7%,主要债务对象是供应商。

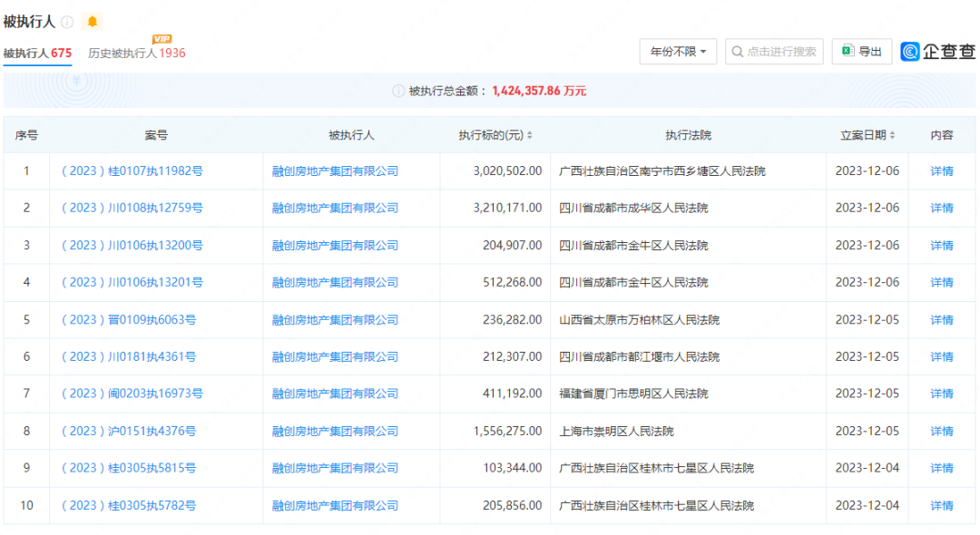
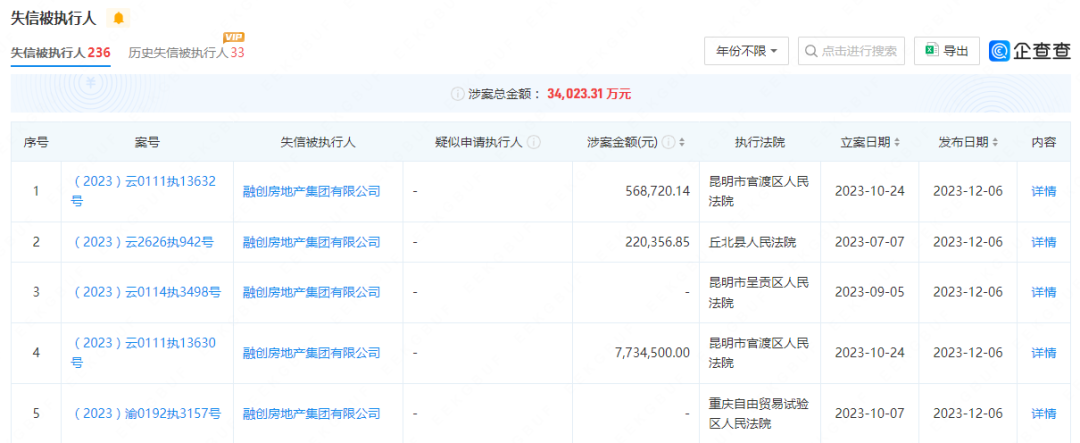
需要指出的是,融创房地产集团有限公司(融创房地产)在近期新增多条被执行人、失信被执行人记录。企查查显示,融创房地产共有675条被执行人记录,被执行总金额1,424,357.86万元;共有236条失信被执行人记录,涉案总金额34,023.31万元。
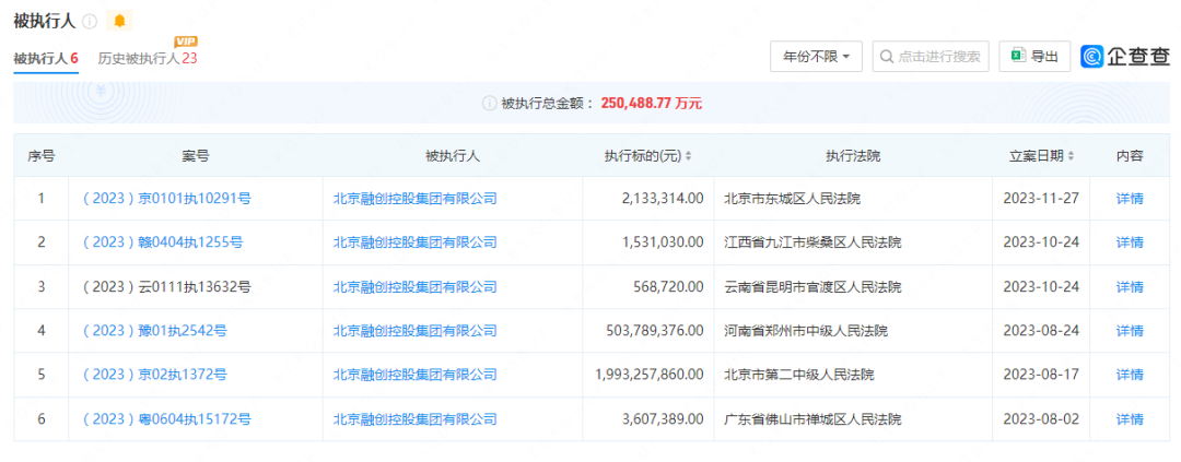
另外,北京融创控股集团有限公司共有6条被执行人记录,被执行总金额250,488.77万元。



债务重组让融创在短时间内松了一口气,但在销售遇冷、经营亏损以及杠杆高企的条件下,公司的处境仍然谈不上乐观,当房地产市场真正回暖,才是包括融创在内的房企真正高枕无忧的时候。当然,市场是否能够真正回暖,仍有待时间验证!
(短平快解读-原创作品,未经许可,请勿转载!PS若稿件侵权或数据有误,请及时联系修正)
财经号声明: 本文由入驻中金在线财经号平台的作者撰写,观点仅代表作者本人,不代表中金在线立场。仅供读者参考,并不构成投资建议。投资者据此操作,风险自担。同时提醒网友提高风险意识,请勿私下汇款给自媒体作者,避免造成金钱损失,风险自负。如有文章和图片作品版权及其他问题,请联系本站。
