洋河赢下“贵酒”商标官司,ST岩石保壳悬了
作者|深水财经社 冰火
屋漏偏逢连夜雨,正在艰难“保壳战”的*ST岩石(600696)再遭一记致命重击。
10月9日晚,ST岩石公告,上海贵酒侵害商标权纠纷一案迎来终审判决。作为被告方,公司因侵害贵州贵酒商标权及不正当竞争行为,需赔偿经济损失及合理维权费共418.85万元,同时还要在官网及上交所网站发布致歉公告以消除影响。
2016年,江苏白酒龙头洋河股份(002304)收购了贵州贵酒集团,成为其布局酱酒的重要运营平台。
而这场“贵酒”之争从2019年就开打,ST岩石旗下白酒品牌多款以“贵酒”或“贵”字商标作为宣传,使其与贵州贵酒集团商标产生混淆,这次终审判决也有望彻底终结ST岩石的不正当竞争。

一、6年商标战终审败诉
*ST岩石与贵州贵酒的商标纠纷,始于2018年的“酱酒热” 风口。*ST岩石抛弃互联网金融主业,通过收并购切入酱酒赛道,并于2019年将公司名称变更为上海贵酒。
这一更名举动,直接引发了贵州贵酒的不满。2019年12月,贵州贵酒以侵害商标专用权、构成不正当竞争为由,在南京起诉上海贵酒、贵州贵酿等4家公司,拉开了长达6年的诉讼拉锯战。
两家“贵酒”虽名称相近,但企业背景却有天差地别。
贵州贵酒底蕴深厚,其前身是1950年贵阳市政府整合144家酿酒作坊,成立国有贵阳酒厂,2016年被苏酒老大洋河股份(002304)收购,成为洋河布局酱酒的重要平台。
*ST岩石则是出了名的“A股更名王”,多次变更主业跟风市场热点,切入酱酒初期仅做贴牌生意,直至2020年底收购贵州高酱酒业52%股权,才逐步打通全产业链。
这场诉讼的判决过程可谓一波三折。
2021年7月,南京中院一审判决贵州贵酿赔偿100万元,贵州贵酒不服上诉;2022年5月,江苏高院裁定撤销一审判决,发回重审;重审后侵权范围扩大,赔偿金额升至255万元,贵州贵酒仍不服继续上诉至江苏高院。
此次终审判决进一步明确:上海贵酒及旗下销售公司需立即停止使用“贵酒”名称,停止侵害商标专用权行为,并合计赔偿418.85万元。
二、实控人羁押、高管“跑路”,存货变现渺茫
随着终审败诉,上海贵酒不仅要支付巨额赔偿,这笔费用无疑会加大*ST岩石的现金流压力;更要命的是要更换已使用六年的企业名称和品牌标识,这对于面临退市风险的*ST岩石而言,可能成为压倒骆驼的最后一根稻草。
据半年报披露,截至6月末,*ST岩石的库存商品账面余额1.46亿元,半成品3.4亿元,二者合共占据存货总额近99%。

来源:*ST岩石2025年半年报
尽管董事长及董秘(代行)陈琪在上半年业绩会上披露了自救举措,包括清理库存补充现金流、开发B端场景化产品、加码线上直播等,但效果微乎其微。
数据显示,截至今年6月末,*ST岩石的存货周转天数高达6622天,而该指标在2024年和2023年分别为为1669天和480天。这次终审败诉意味着这些存货的变现可能更加渺茫。
作为韩宏伟父子斥资超30亿元打造的“酱酒新贵”,*ST岩石的崩塌源自关联方海银系的暴雷。
2023年12月,海银控股旗下理财产品暴雷;2024年9月,上海市公安局奉贤分局对海银财富涉嫌非法集资立案侦查,*ST岩石实控人韩啸被采取刑事强制措施,其持有的64.80% 公司股份被司法冻结。目前,韩啸所涉案件已按集资诈骗案移送检察院审查起诉,仍处于羁押状态。
实控人出事直接冲击公司经营,形成恶性循环。陈琪在今年半年报业绩会上坦言,从2023年末开始,公司资金承压,返利返货无法兑现,市场投放减少,经销商关系受挫,对于补货、备货持更加审慎观望态度。
据半年报披露,资金紧张导致*ST岩石新建厂房施工暂停。旗下11家主要子公司中,营收仅1家超千万元,6家不足百万元,其中1家为0;净资产7家为负,核心业务几乎丧失造血能力。

来源:*ST岩石2025年半年报
截至2025年上半年,公司流动负债合计14.17亿元,资产负债率高达74.38%,远超行业平均水平;而货币资金仅1538.71万元,现金及现金等价物余额仅剩474.28万元。公司在半年报中表示,主要系销售回款减少所致。
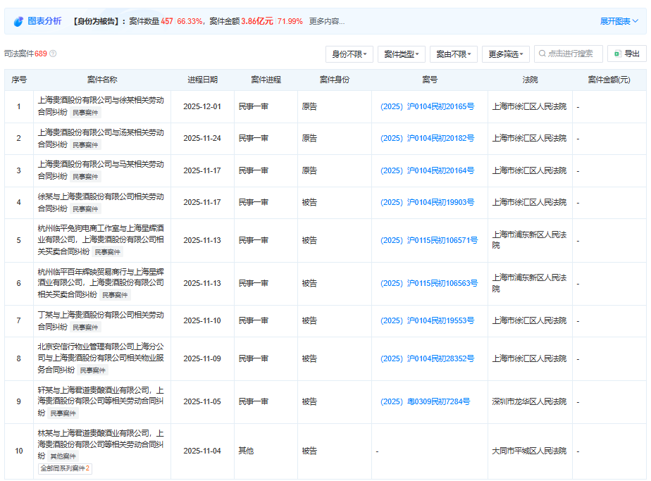
雪上加霜的是诉讼潮接踵而至。据天眼查显示,截至10月11日,公司累计涉及司法案件457起,涉案金额3.86亿元。

来源:天眼查
更要命的是高层动荡。据公告披露,2024年,公司董事、总经理、董秘、副总等6名核心高管先后离职;今年2月~7月,公司副总孙文、副董事长陈琪、副总刘智涛也相继离任。不过,在新董事长确认前,陈琪仍需临时“救火”,代行董事长职责。
三、只剩不足3个月时间,“保壳”悬了
对于* ST岩石而言,眼下最紧迫的是能否逃过退市命运。根据上交所新规,若上市公司连续两个会计年度营收低于3亿元且净利润为负,将触发财务类强制退市。
从公司营收来看,2024年2.85亿元;2025年上半年,仅0.28亿元,同比大降85.22%;从归母净利润来看,2024年亏损2.17亿元,2025年上半年再亏6776.68 万元,虽亏损幅度收窄12.41%,但仍未扭亏。
如今距离年末仅剩不到3个月,要完成2025年营收3亿元的“保壳”红线,下半年需实现超2.72亿元收入,相当于上半年营收近9倍,这在当前经营状况下几乎不可能完成。
目前来看引入战投是唯一破局之道。陈琪在业绩会上也透露,引入战投能为公司带来资源协同与整合,有助于化解财务风险,增强市场竞争力,是公司解决经营困境的重要举措之一。不过截至目前,尚未披露任何实质性进展。距离2025年结束仅剩下不到3个月,留给* ST岩石的时间已经不多了。
值得关注的是,2024年A股退市公司达52家,创下历史新高;2025年A股已有20多家公司完成退市,反映监管趋严与市场出清加速。像*ST岩石这类经营恶化、纠纷缠身的上市公司,如果引入战投无果,大概率会被市场淘汰。
其实,二级市场走势已反映市场预期。截至10月10日,*ST岩石股价报5.81元/股,总市值已不足20亿元,今年以来下跌53%,近4年多累计跌幅近9成,市值蒸发超150亿元。这意味着,投资者纷纷用脚投票,看淡公司未来。

*ST岩石近年来股价走势月K线图
(全球市值研究机构深水财经社独家发布,转载引用请注明出处)
财经号声明: 本文由入驻中金在线财经号平台的作者撰写,观点仅代表作者本人,不代表中金在线立场。仅供读者参考,并不构成投资建议。投资者据此操作,风险自担。同时提醒网友提高风险意识,请勿私下汇款给自媒体作者,避免造成金钱损失,风险自负。如有文章和图片作品版权及其他问题,请联系本站。
