北交所龙虎榜|吉冈精密今日封涨停,买一席位净买入逾2100万
犀牛之星讯,11月6日消息,据北交所公开信息显示,吉冈精密(836720)今日上涨30%,换手率为47.4%,累计成交4.91亿元登上龙虎榜。
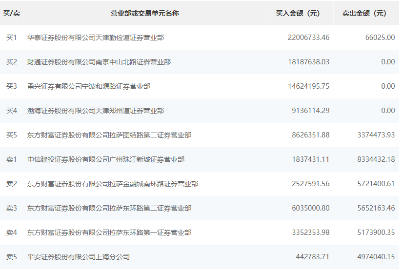
根据龙虎榜交易数据显示,买入方面,买一为华泰证券股份有限公司天津勤俭道证券营业部,买入2200.67万元,卖出6.6万元。买二为财通证券股份有限公司南京中山北路证券营业部,买入1818.76万元。卖出方面,卖一为中信建投证券股份有限公司广州珠江新城证券营业部,卖出833.44万元,买入183.74万元。卖二为东方财富证券股份有限公司拉萨金融城南环路证券营业部,卖出572.14万元,买入252.75万元。

财经号声明: 本文由入驻中金在线财经号平台的作者撰写,观点仅代表作者本人,不代表中金在线立场。仅供读者参考,并不构成投资建议。投资者据此操作,风险自担。同时提醒网友提高风险意识,请勿私下汇款给自媒体作者,避免造成金钱损失,风险自负。如有文章和图片作品版权及其他问题,请联系本站。
