北交所龙虎榜|三维装备今日封涨停,卖一席位净卖出1274万元
9月18日消息,据北交所公开信息显示,三维装备(831834)今日上涨30.00%,换手率达22.57%,累计成交3.32亿元登上龙虎榜。
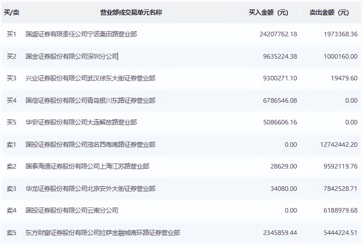
根据龙虎榜交易数据显示,买一为国盛证券有限责任公司宁波桑田路营业部,买入2420.78万元。买二为国金证券股份有限公司深圳分公司,买入963.52万元。卖出方面,卖一为国投证券股份有限公司茂名西粤南路证券营业部,卖出1274.24万元。卖二为国泰海通证券股份有限公司上海江苏路营业部,卖出959.21万元。

财经号声明: 本文由入驻中金在线财经号平台的作者撰写,观点仅代表作者本人,不代表中金在线立场。仅供读者参考,并不构成投资建议。投资者据此操作,风险自担。同时提醒网友提高风险意识,请勿私下汇款给自媒体作者,避免造成金钱损失,风险自负。如有文章和图片作品版权及其他问题,请联系本站。
