“多半”到“1桶半”,擦边商标“偷走”了你的泡面分量?
商家的文字游戏正悄然蔓延至方便面行业。继白象被曝出多半袋面、多半桶面系列产品包装上显示的“多半”为注册商标后,今麦郎也被发现注册了“1桶半”商标。
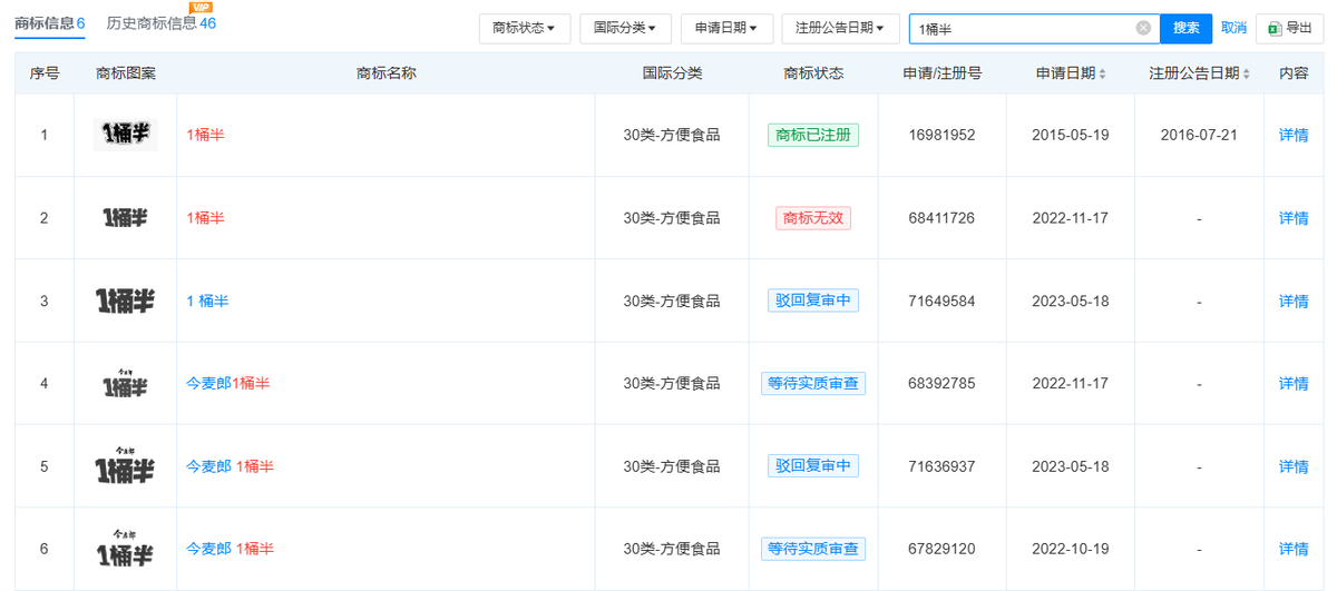
天眼查显示,2015年以来,今麦郎已申请“1桶半”、“1 桶半”、“今麦郎1桶半”、“今麦郎 1桶半”等多个商标。其中,“1桶半”已注册成功,“1 桶半”和“今麦郎 1桶半”处于驳回复审中,“今麦郎1桶半”为等待实质审查状态。
图片来源:天眼查
有媒体发现,今麦郎“1 桶半”桶装方便面面饼标注的克数为110g,“弹面小桶产品”面饼为85克,按此计算,前者并非后者的1.5倍。因此,有网友质疑今麦郎玩“文字游戏”。但是,也有网友表示,“今麦郎一桶半我吃过,感觉就是多”。
作为国内方便食品市场的知名品牌,近几年,今麦郎的成绩却并不亮眼。
业绩方面,今麦郎营收整体下滑。据河北省工商业联合会发布的“2024河北省制造业民营企业100强”榜单,2023年,今麦郎营收为165.7亿元。而据媒体报道,根据历年榜单,2020年和2021年,今麦郎营收超过240亿元。
图片来源:河北省人民政府公众号
市场份额方面,第二十四届方便食品大会数据显示,以方便面销量计算,2023年,今麦郎所占的市场份额为10%,排名第四。康师傅、统一、白象食品占据前三名,所占市场份额分别为45%、16%、12%。
值得一提的是,在方便面市场,“擦边式商标营销”并非个例。今麦郎之前,白象食品被曝出多半袋面、多半桶面系列产品包装上显示的“多半”为注册商标。6月4日,白象食品发文致歉并回应此事,表示“多半”商标申请注册的初心是为了与常规份量产品做区分,便于消费者选购。后续公司将尽快调整“多半”产品包装,避免引发消费者的误解。随后,天眼查曝出,康师傅关联公司顶益(开曼岛)控股有限公司曾申请注册多枚“一倍半”“1碗半”“1倍袋半”“康师傅一倍半”等商标。
图片来源:微博截图
华东政法大学知识产权法律与政策研究院杨勇研究员告诉“澎湃新闻”,《商标法》明确规定,带有欺骗性,容易使公众对商品的质量等特点或者产地产生误认的标志,不得作为商标使用。他认为,“多半”、“1桶半”等文字作为商标在桶装泡面上使用,涉嫌违反《商标法》。
这些品牌为何爱玩“文字游戏”呢?方便面品牌密集推出“一袋半”、“一桶半”等大分量产品,本质上是行业竞争白热化的结果。自热火锅、螺蛳粉等方便食品和预制菜的兴起,在分流方便面消费,方便面进入存量竞争时代,品牌们需要使出浑身解数来争夺有限的市场。于是,面对消费者追求性价比的需求,方便面品牌纷纷推出了大分量产品。
图片来源:小红书
另一方面,商标注册流程中的一些潜在漏洞给了这些品牌可乘之机。有律师告诉媒体,尽管《商标法》有明确规定,但由于“误导”的判定依赖审查员的主观判断,再加上从申请材料或许很难看出潜在风险,审核员难以认定该商标确实会误导消费者。
扩大到整个消费行业,此类擦边商标更是屡见不鲜。“千禾0”酱油中的“千禾0”;简爱酸奶宣传语“生牛乳、糖、乳酸菌,其他没了”中的“其他没了”;“壹号土猪肉”中的“壹号土”;“山里来的土鸡蛋”中“山里来的土”,其实都是商标。
“擦边式商标营销”越来越多,消费者也越发反感。这种明显的误导性宣传,短期内或许会提升销量,但长期来看,很可能会引发消费者信任崩塌。对方便面巨头而言,当务之急是立即摒弃这类游走法律边缘的“文字游戏”,杜绝用模糊表述提升销量的短视行为,回归产品本质,方能在存量博弈中赢得市场认可。
财经号声明: 本文由入驻中金在线财经号平台的作者撰写,观点仅代表作者本人,不代表中金在线立场。仅供读者参考,并不构成投资建议。投资者据此操作,风险自担。同时提醒网友提高风险意识,请勿私下汇款给自媒体作者,避免造成金钱损失,风险自负。如有文章和图片作品版权及其他问题,请联系本站。
