山西银行迎新行长:省财政厅增资,股权流拍与净利润跌九成何解?

出品 | 子弹财经
作者 | 李薇
编辑 | 蛋总
美编 | 倩倩
审核 | 颂文
近期,山西银行因地方国资注资与管理层变动同步落地的消息而引发业内关注。
2月10日,国家金融监督管理总局山西监管局发布公告称,邢毅的山西银行行长任职资格已获得核准,他成为继任凯、李颖耀之后,山西银行的第三任行长。
同日,监管同意山西银行的注册资本由258.94亿元变更为273.09亿元,此次由山西省财政厅独家入股该行14.15亿股股份(持股5.18%)。此前,山西省财政厅已间接持有该行股权并成为实际控制人。
山西银行股份有限公司(以下简称“山西银行”)成立于2021年4月底,由大同银行、长治银行、晋城银行等5家地方法人银行,通过合并资产重组方式设立成为省级法人城商行。
业绩表现上,山西银行呈现出“过山车”走势:2022年至2024年的净利润分别为3.92亿元、8.31亿元和0.51亿元。2025年上半年,该行总资产规模为3501.97亿元,较2024年末下降2.71%,这是成立后首次出现总资产下滑。
令人担忧的是,山西银行2024年末的净息差仅为0.57%,低于城商行平均水平。而成本收入比达到79.56%,远超监管规定的45%“红线”。
此外,山西银行在2026年开年的一笔超过4亿股股权拍卖最终流拍,同时该行披露成立后已清退33位股东。
在多个股东陷入司法纠纷、成为被执行人的困境下,山西银行新高管团队如何破局?未来能否改善业绩并尽快处置“历史包袱”?
1、迎来第三任行长,董事长临近退休
山西银行宣布迎来了第三任行长邢毅,标志着该行核心管理层又一次重大调整。
公开资料显示,邢毅出生于1969年2月,现年56岁,曾在央行系统长期任职,曾任中国人民银行太原中心支行党委委员、副行长,兼任国家外汇管理局山西省分局副局长。
此后,他出任中国人民银行山西省分行党委委员、副行长,拥有深厚的山西本地金融系统管理经验。
此前在2025年12月初,山西银行公告称李颖耀另有任用,不再担任本行行长;同时表示聘任邢毅作为该行行长,在任职资格获批前,由他代为履行行长职责。
「子弹财经」发现,山西银行在成立不足五年的时间内,已更替了三任行长。其中,首任行长任凯的任职时间最长,他的任职资格在2022年3月获批,在任时间超过2年。

值得注意的是,山西银行官网在2025年12月披露的多条公告显示,曾经的首任行长任凯以该行党委书记的身份,开展调研、访谈等工作,表明他已回归山西银行,但未披露其负责的业务条线和岗位职责情况。
山西银行的党委书记、董事长高计亮,出生于1965年6月,现已年满60岁退休年龄。外界预测,任凯或成为下一任董事长。
山西银行成立以来历经了多轮高管调整,折射其面对风险处置、机构整合等改革重任,亟需引入具备复合型能力的高管人才。
伴随着新领导班子的到位,山西银行未来能否保持战略定力,有待进一步观察。
2、业绩坐“过山车”,资产质量承压
即将迎来五周年的山西银行,业绩却呈现“过山车”走势。
「子弹财经」注意到,山西银行的总资产、存贷款规模已出现下滑。
2022年至2024年,山西银行的总资产分别为3204.86亿元、3560.94亿元和3599.46亿元。
截至2025年6月末,该行总资产规模降至3501.97亿元,较2024年末下降2.71%;各项贷款余额1511.53亿元,较上年末下滑13.58%;各项存款余额2806.62亿元,较上年末下降5.42%。
这是该行成立以来,总资产与存贷款规模首次下降。山西银行向「子弹财经」表示:“2025年以来,该行主动调整资产结构,将信贷资源投向符合国家政策导向和区域发展战略的重点领域及优质客户。截至2025年6月末,该行一般贷款累计投放462.33亿元,较年初净增67.46亿元。”
在业绩表现上,山西银行呈现的盈利回落态势,与该行“历史包袱”、收购村镇银行存在一定关联性。
鉴于山西银行未披露2025年全年度财务数据,通过其2022年至2024年业绩情况,可观察盈利走势。
具体来看,山西银行的营业收入分别为30.96亿元、31.49亿元和31.68亿元,同比增速分别为14.71%、1.71%和0.6%;净利润分别为3.92亿元、8.31亿元和0.51亿元,同比增速分别为108.39%、111.99%和-93.86%。

该行2024年净利润的大幅下跌,主要原因在于三方面:
一是信用减值损失大幅增长,2024年末该指标达到5.85亿元,较2023年增长9.6亿元,减值计提是该行净利润收缩的原因之一。

(图 / 山西银行2024年净利润相关财务指标(来源:山西银行2024年报))
二是吸收合并四家高风险村镇银行,导致该行利润空间收缩。
2024年9月末,监管批复同意山西银行收购晋中市榆次融信村镇银行、万荣县汇民村镇银行、阳曲县汇民村镇银行和山阴县太行村镇银行。
山西银行承接了这四家村镇银行的全部资产与负债,并改设为19家支行,网点和员工成本成为其较大的负担。
三是净息差有所收窄和成本收入比过高。2022年至2024年,该行净息差分别为0.65%、0.62%和0.57%,均低于1%。而金融监管总局披露的数据显示,2024年末城商行平均净息差为1.38%。
山西银行向「子弹财经」解释称,该行2025年末的净息差为0.66%,较上年提升0.09%,力争实现净息差企稳回升,具体举措包括优化信贷结构、有序调整存款期限结构并降低付息水平、拓展中间业务、降低不良率和信用风险损失等。

(图 / 山西银行2022-2024年主要财务指标表现(来源:《山西银行2025年度同业存单发行计划》))
同时,山西银行2024年的资产利润率降至0.01%。更重要的是,山西银行2022年至2024年的成本收入比,分别为81.53%、80.87%和79.56%,远超监管上限。
原银监会2005年发布的《商业银行风险监管核心指标(试行)》,规定“成本收入比不应高于45%”。2023年发布的《合格审慎评估实施办法(2023年修订版)》,进一步明确“成本收入比满分标准应不超过35%。”
「子弹财经」还发现,在贷款结构方面,山西银行的零售业务占比偏低。
截至2024年末,山西银行的公司贷款和垫款占比为66.22%,而个人贷款占比仅为6.76%,信贷结构失衡问题较明显。
在个人贷款中,该行个人消费贷款规模从2023年的31.34亿元降至2024年的21.72亿元,降幅达到30.69%,折射其在零售金融方面的投入有待加强。
对此,山西银行向「子弹财经」表示,成立之初消费信贷规模相对较小,近几年在住房按揭、居民综合消费贷款等方面,提升线上化服务能力,2024年末业务规模较开业时倍数提升。
从资产质量来看,山西银行的不良“历史包袱”问题较多。2024年末,该行的不良率为2.5%,较上年末增长0.76%;拨备覆盖率为154.76%,较上年末下滑47.98%。
山西银行回应称,一方面源于吸收合并四家高风险村镇银行,需要计提更多的贷款损失准备;另一方面则是经济严峻复杂,叠加部分债务人存在阶段性还款困难。2025年末,该行不良率较2024年无较大变动。
3、股权拍卖遇冷,省财政局入股增资
2026年1月初,山西银行发生了一笔超过4亿元的股权拍卖事件,却最终流拍。
在了解这笔股权拍卖前,先来看一下山西银行的股权结构。
2024年报显示,该行第一大股东是山西融金兴晋私募投资基金合伙企业(有限合伙),持股比例为59.09%,该公司的实控人是山西省财政厅。
联合资信在2025年评级报告中指出,该行资本充足率从2022年的13.05%降至2024年的11.58%,考虑其信贷资产质量面临下行压力,资本面临一定的补充压力。
2026年2月中旬,监管批复同意由山西省财政厅以直接入股方式成为山西银行股东,获批持有该行14.15亿股股份(持股比例5.18%),此举将改善其资本充足率并缓解资本补充压力。
再看这笔4亿元股权拍卖,阿里资产拍卖平台信息显示,其第四大股东中融新大集团有限公司(简称“中融新大”)所持有的山西银行4.16亿股股权及孳息流拍,该笔股权起拍价为4.17亿元。

(图 / 山西银行第四大股东中融新大股权流拍(来源:阿里资产拍卖平台))
中国证券报在今年1月中旬报道称,这笔拍卖涉及中融新大与金融机构之间的债务纠纷,拍卖的申请执行人为广东粤财信托,执行标的金额为4.59亿元。被拍卖的山西银行股权,属于中融新大处置资产以偿还债务的一部分。
对此,山西银行回复「子弹财经」称:“成立之初,该行就清理规范问题股东227户,近五年已清退信用信息不良、融资入股、长期涉诉等具有负面行为的股东33户。同时,中融新大由于经营不佳而被法院冻结资产,该行主动联系法院并推进股权拍卖,流拍后法院已出具以物抵债裁定。”
更为关键的是,2023年7月,经淄博市中级人民法院裁定,中融新大因债务危机被裁定进入破产重整程序。
同月,上海金融法院的判决显示,山西银行追索山东物流集团有限公司8623万元借款本金及相应利息,并要求中融新大与实际控制人王清涛承担连带清偿责任。
事实上,这并非山西银行股权首次流拍,此前其他股东的股权也曾多次流拍并涉及司法案件。
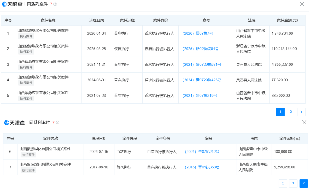
2025年1月初,该行第五大股东山西聚源煤化有限公司(简称“山西聚源煤化”)持有的1.9亿股股权,在阿里资产拍卖平台上拆分4笔拍卖,全部二次流拍。
2026年1月21日,山西聚源煤化持有的山西银行1.94亿股股权再次现身拍卖平台,尚处于提交意向阶段。拍卖信息显示“一股3毛”,由此测算拍卖金额仅7769万元,资产处置主体是合生创盈融资担保股份有限公司。
天眼查显示,山西聚源煤化在2017年至2026年初期间,因不同纠纷案件而多次被列为被执行人。


(图 / 山西银行第五大股东聚源煤化的司法案件纠纷与股权拍卖进展(来源:天眼查、阿里资产拍卖平台))
更早之前,2022年至2023年期间,时任该行第九大股东的青岛大宗商品交易中心也曾拍卖其持有的股权,但以流拍收尾。
此外,天眼查显示,山西银行第三大股东——大同市经济建设投资集团有限责任公司,多次被列入被执行人。
目前来看,山西银行已清退33户有负面行为股东的动作,与部分股东的股权流拍及成为被执行人的现状形成对比,在一定程度上凸显出其在股权治理上的迫切性与现实难度。
山西银行对「子弹财经」称,该行已引进山煤国际能源集团股份有限公司、山西省财政厅等股东,持续推动股权结构优化。该行今后将加强公司治理,为其稳健发展提供有力保障。
即将迎来五周年的山西银行,面对存量风险与稳健发展的双重挑战,亟待高管层重塑战略重心,化解“历史包袱”问题。今后,山西银行能否重回业绩增长轨道,「子弹财经」将持续观察。
*文中题图来自:界面新闻图库。
财经号声明: 本文由入驻中金在线财经号平台的作者撰写,观点仅代表作者本人,不代表中金在线立场。仅供读者参考,并不构成投资建议。投资者据此操作,风险自担。同时提醒网友提高风险意识,请勿私下汇款给自媒体作者,避免造成金钱损失,风险自负。如有文章和图片作品版权及其他问题,请联系本站。
