港股中国稀土子公司被爆资产挪用,蒋泉龙父子质疑钨条收购
7月6日,在审阅法律顾问对两家内地子公司的尽职调查报告后,港股上市公司中国稀土(00769)董事会决定成立独立调查委员会。
这起突发事件的导火索是一封来自集团某内地附属公司雇员的投诉信,信件指控集团附属公司存在“潜在挪用资产行为”,导致债务累积、银行和供应商频繁上门追债。
子公司被爆资产挪用及债务危机
公告显示,投诉信的发件人自称是集团中国内地附属公司雇员,直指子公司存在资产挪用问题。
为核实指控,公司紧急委聘中国内地的法律顾问对宜兴新威利成耐火材料有限公司和宜兴新威利成稀土有限公司展开尽职调查。
调查结果表明,这两家附属公司涉及多宗诉讼及强制执行案件,到期未履行的债务金额可能已超出实缴资本,目前它们已被纳入中国内地的“被执行人”及“限制高消费”名单。

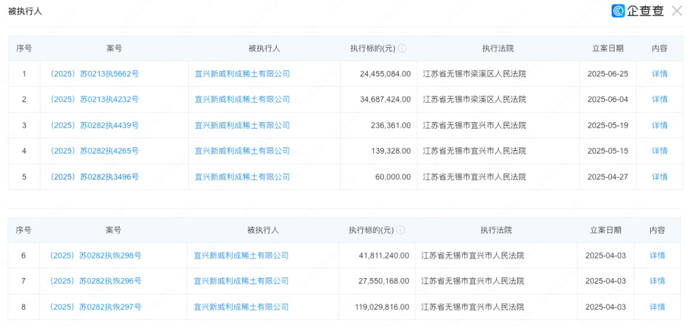
企查查数据显示,两家公司均注册于江苏宜兴,注册资本分别为1700万美元和1566万美元,主要从事稀土产品生产销售以及耐火材料的生产。
《财中社》注意到,两家公司涉及多起司法诉讼,其中与上海浦东发展银行、招商银行、交通银行的三起金融借款合同纠纷为共同涉案且金额较大,被执行金额分别为2446万元、3469万元及1.19亿元,而这仅仅只是冰山一角。

董事长父子提出钨条收购质疑
与此同时,中国稀土的内部矛盾浮出水面。董事长蒋泉龙和高管蒋大伟提起申诉,对公司6月16日完成的1600公斤钨条收购交易有效性提出质疑。
蒋泉龙为集团创始人,其1987年涉足稀土行业,先后成立分离厂、冶炼厂,1994年整合产业创建新威集团,1999年推动企业港股上市,后更名“中国稀土”。2001年,蒋泉龙曾以超11亿元资产登《福布斯全球》中国大陆富豪榜第39位,2017年被曝欠赌债,遭申索1889万新加坡元(约1.08亿港元)。
其子蒋大伟2006年3月加入中国稀土,2017年9月任公司执行董事兼行政总裁,参与决策运营,推动业务与战略实施。
《财中社》注意到,蒋氏父子质疑的收购交易于5月28日敲定,卖方为众景国际,买方则是公司的直接全资附属公司Wealthy Energy Limited,中国稀土也参与其中并订立协议。

根据协议内容,卖方同意出售1600公斤纯度不低于99.995%的钨条,总代价为1.5亿港元。支付方式颇为特殊,是通过在完成交易时,按每股代价股份0.375港元的发行价,发行及配发4亿股代价股份来偿付,且这些代价股份将根据一般授权发行。
6月16日,公司宣布完成交易,相关事宜根据协议的条款及条件顺利落实。蒋氏身为董事长,该笔收购若无其同意理应无法推进,为何完成后又对此提出质疑呢?
从股权结构影响来看,交易完成后,卖方众景国际股东王心兰将持股14.3%;而由蒋泉龙及其配偶钱元英控制的YY Holdings Limited和Praise Fortune Limited持股比例将分别降至25.3%和0.8%,合计减少了4.4个百分点。

董事会指出,该项收购已于5月28日获得全体五名董事一致批准,而蒋泉龙和蒋大伟不仅参与了决策,还亲自参与了交易准备工作。
面对上述问题,中国稀土董事会紧急议决成立独立调查委员会。此外,董事会表示,公司自6月18日起在联交所暂停买卖,且将继续停牌。
资料显示,中国稀土主要制造和销售稀土及耐火材料,其中稀土分部制造并销售包括稀土氧化物在内的稀土产品,耐火分部制造并销售包括镁砂在内的耐火材料。
公司近年来经营业绩一路下滑。数据显示,2020年至2024年,公司营收从9.38亿元萎缩至7亿元,净利润则分别实现0.17亿元、0.2亿元、-3.33亿元、-1.82亿元和-0.97亿元,已经连续亏损三年。时间轴拉长到近十年,公司仅于2019年至2021年盈利,三年合计仅0.72亿元,呈现大亏小赚的明显特征。

财经号声明: 本文由入驻中金在线财经号平台的作者撰写,观点仅代表作者本人,不代表中金在线立场。仅供读者参考,并不构成投资建议。投资者据此操作,风险自担。同时提醒网友提高风险意识,请勿私下汇款给自媒体作者,避免造成金钱损失,风险自负。如有文章和图片作品版权及其他问题,请联系本站。
