研发强度不足,政府补助扮靓业绩,盛合晶微IPO拟募资48亿
近期,盛合晶微半导体有限公司(下称“盛合晶微”)科创板IPO申请获上交所受理,拟募资48亿元用于三维多芯片集成封装等项目,被定位为“境内第四、全球第十大封测企业”。
从招股书来看,这家先进封测“独角兽”仍然面临包括盈利质量、客户与现金流、科创属性与研发投入以及治理风险等多项问题。
政府补助撑起利润
从业绩来看,盛合晶微近年来转好,报告期内营业收入分别为16.33亿元、30.38亿元、47.05亿元和31.78亿元,归母净利润在2023年由负转正,从2022年的亏损3.29亿元转为盈利3413万元,2024年进一步增长至2.14亿元,2025年上半年更是达到4.35亿元,半年内的利润就超过了2024年全年的两倍。

但从盈利质量来看,盛合晶微这份亮眼的业绩表背后其实暗藏玄机。招股书披露,报告期内盛合晶微计入当期损益的政府补助分别为3275万元、3070万元、7834万元和5686万元,三年半合计达到2亿元,对利润的贡献较大。更重要的是,2023年公司扣非归母净利润只有3162万元,其中计入经常性损益的政府补助就有2655万元,占83.97%;也就是说,一旦剔除这部分补助,2023年公司的主营业务很可能只能勉强实现盈亏平衡。
从产品结构来看,公司处于市场关注度极高的先进封装环节,2024年盛合晶微在2.5D集成封装的国内市场份额约为85%,全球约8%,是内地少数能与台积电、英特尔等在这一技术上同台竞技的企业;另外,盛合晶微2024年在国内12英寸晶圆级封装收入中市占率约31%,居于首位。正因如此,才得到了地方政府产业基金、财政补助和政策性资金方面相当多的支持。
2024年以后,计入经常性损益的政府补助占扣非净利润的比重有所降低,说明公司主营业务的盈利能力有所增长,可一旦行业景气回落,或者地方财政的支持收缩,公司的盈利弹性能否延续,成为了市场关注的重点。
大客户集中,应收与存货攀升
从经营模式来看,盛合晶微的客户结构高度集中。招股书披露,报告期内公司前五大客户收入占比分别为72.83%、87.97%、89.48%和90.87%,其中第一大客户的收入占比从2022年的40.56%攀升至2025年上半年的74.40%。
从财务状况来看,公司的应收账款和存货同步攀升,报告期内,公司应收账款余额分别为4.40亿元、8.73亿元、12.28亿元和13.23亿元,对应收入占比分别为26.94%、28.74%、26.11%和20.81%,从逾期账龄的分布来看,公司报告期内信用期内应收账款比重分别为91.90%、89.22%、85.28%和84.44%,呈逐年下降趋势。另外,报告期内公司存货账面价值分别为3.56亿元、6.83亿元、11.93亿元和13.44亿元。

并且,《财中社》还注意到,公司的长期借款正在逐年增加,报告期各期末分别为6.04亿元、17.57亿元、33.28亿元和33.92亿元,占非流动负债的比例分别为85.99%、86.96%、83.58%和85.15%,主要为抵押及信用借款。

对单一大客户的依赖限制了公司的议价能力,而应收账款、存货和债务的走高则带来了持续性的经营风险。一旦客户削减订单,公司存货面临减值压力,而订单回款又不及时,公司的财务周转和经营稳定性将会遭受较大挑战。
研发人员占比逼近红线
盛合晶微作为一家申请科创板上市的半导体公司,研发能力自然是监管和市场的重点关注方向。
招股书披露,报告期内盛合晶微的研发费用分别为2.57亿元、3.86亿元、5.06亿元和3.67亿元,在同期营收中的占比分别为15.72%、12.72%、10.75%和11.53%,经历了持续下滑后在2025年上半年小幅回升,但仍与2023年及之前存在差距。可见,虽然绝对值保持增长,但在收入保持高增的同时,公司研发投入的增速却低于营收增速,引发了市场对于公司技术储备和前瞻投入的不确定。
与此同时,公司研发人员占比也逐年下滑,科创属性评价标准要求公司研发人员占员工总数的比例不低于10%,但公司研发人员占比却从2022年的18.13%一路下滑到2025年上半年的11.11%,已经逼近红线。从员工构成来看,公司员工以生产类员工为主,2025年上半年高达5092人,占到85.32%,研发类员工仅有663人。对此,公司解释称,封测本身是劳动密集型行业,随着整体员工人数翻倍增长,研发占比自然会降低。

在先进封装领域,当海外头部厂商正把2.5D、3DIC作为战略高地并加码投入,盛合晶微却在研发人员占比上靠近“红线”,在研发强度上逐年下滑,未来是否会在工艺节点、可靠性验证、新平台布局上落于下风,引发市场担忧。
内部治理分散,外部制约强势
从治理层面来看,无论是红筹模式,还是公司内部股权的分散,都引发了对公司决策效率和治理稳定性的风险。
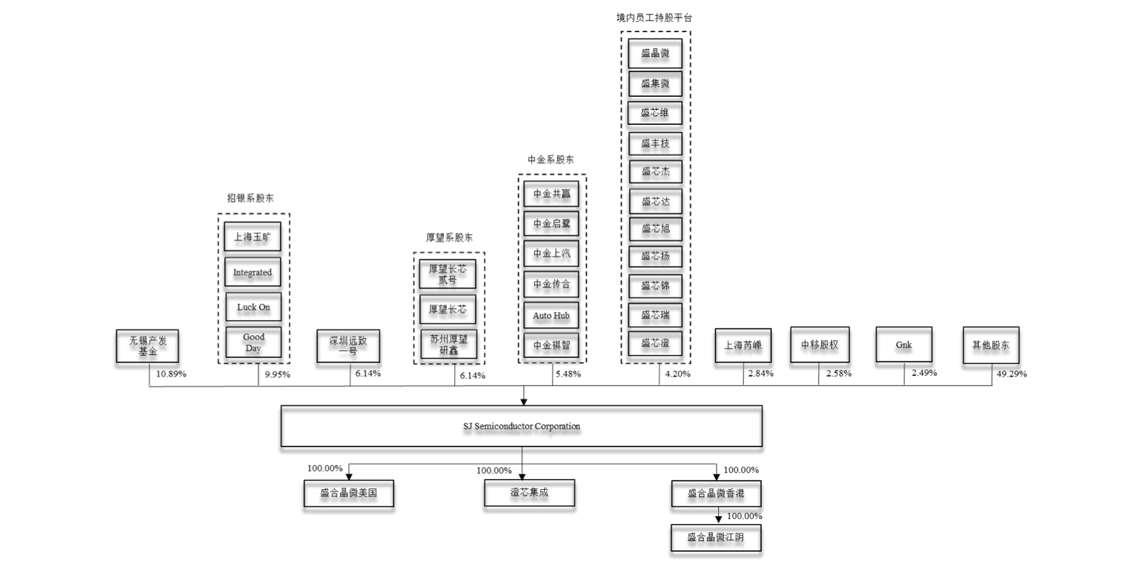
招股书显示,盛合晶微于2014年在开曼群岛注册成立,母公司为Cayman公司,通过香港、内地子公司开展业务,是典型的红筹模式,其授权股本、面值、股东名册等均受开曼公司法约束。在红筹架构下,股东权利的实现要通过境外法律体系,对此,招股书也特别提示了诸如公司治理规则差异、股利分配限制、境外判决在境内执行的不确定性等“红筹企业境内上市风险”,在完成上市后,境内外股东、境外基金和地方国资之间话语权的分配将成为公司未来治理需要面对的问题。
从内部结构来看,分散的股权结构加剧了这一治理风险。截至招股书签署日,公司共有113名股东,其中第一大股东无锡产发基金持股10.89%,第二大股东招银系合计持股9.95%,其余股东持股均在10%以下,公司明确披露“无控股股东、无实际控制人”,董事会9席中,3席为独立董事,5席由前五大股东分别委派1名,董事长兼CEO崔东占据剩余1席。

此外,盛合晶微还面临外部制约压力。盛合晶微成立于2014年8月,前身是中芯长电。2020年12月,美国商务部将中芯国际列入出口管制“实体清单”,中芯长电也受到牵连,美国企业向其出口相关设备、材料时需要事先获批。虽然中芯国际已经在2021年完全退出股权,中芯长电也更名为“盛合晶微”,但目前仍处在清单内。2024年,美国商务部对格罗方德(GlobalFoundries)开出50万美元的罚单,理由之一就是在未经许可的情况下,向“实体清单”上的盛合晶微连续发货74批次晶圆,总金额约1710万美元。
招股书中也提到,公司被列入“实体清单”,在采购高端半导体设备和材料时存在持续的不确定性——这意味着,一旦美国收紧许可,盛合晶微的扩产计划可能在关键设备上被“卡脖子”。
站在产业角度,盛合晶微无疑是当前中国先进封装产业链上极为关键的一环,不仅在2.5D封装、晶圆级封装领域具备全球前列的规模与话语权,而且承接了国内高算力芯片国产化的关键环节。这家公司的科创板IPO讲述的是一个典型的中国式半导体故事:技术突破、地方扶持、大客户驱动与资本扩张相互交织,未来,它能否在补助退坡、客户周期波动和外部环境不确定性下,靠自身的技术与经营能力打出自己的天地,我们拭目以待。
财经号声明: 本文由入驻中金在线财经号平台的作者撰写,观点仅代表作者本人,不代表中金在线立场。仅供读者参考,并不构成投资建议。投资者据此操作,风险自担。同时提醒网友提高风险意识,请勿私下汇款给自媒体作者,避免造成金钱损失,风险自负。如有文章和图片作品版权及其他问题,请联系本站。
