京城双子风云①:保利金茂“分家”
导语
北京楼市有一个特产:双子座。它们,面对面,是天生的对手,是携手上岸,还是鹿死谁手呢?
即日起,乐居财经《进深》推出【双子风云】系列策划,记录它们的商战故事。
文/北京进深 徐迪
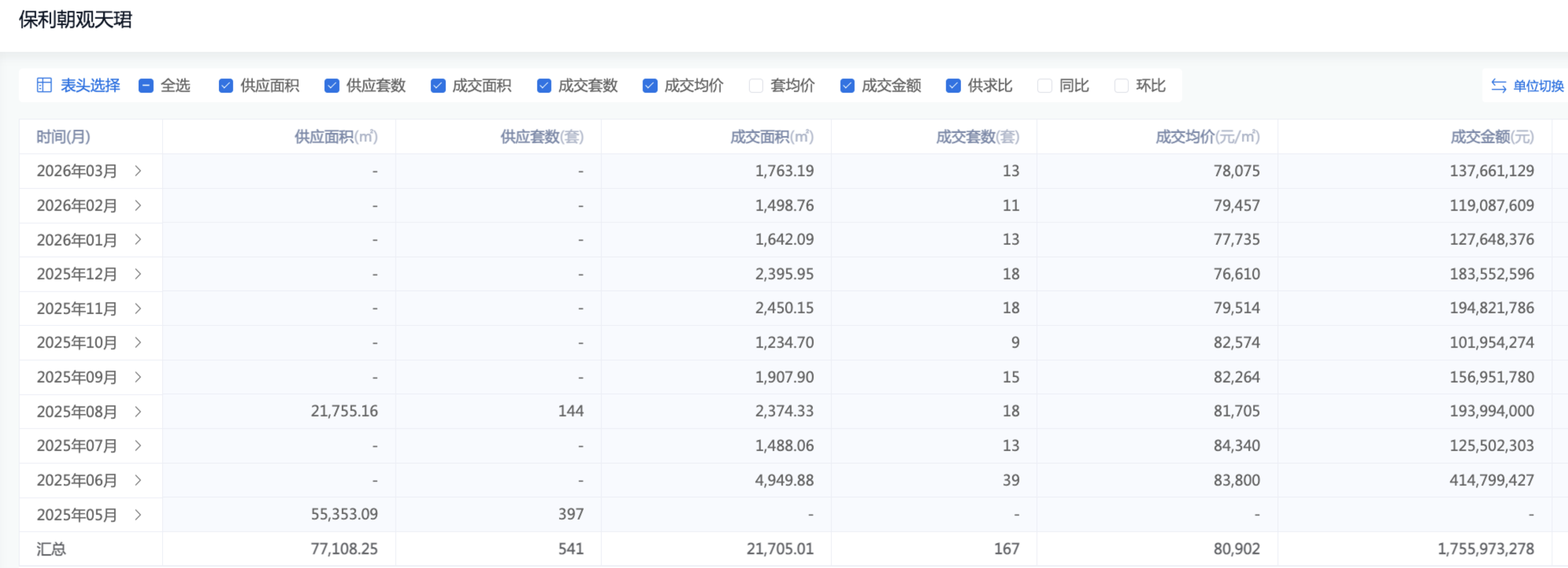
3月第二周(3.9-3.15),保利朝观天珺网签10套,成交面积约0.14万㎡,均价7.78万元/㎡。
成交金额合计1.01亿元,位列北京单盘第四名,朝阳区第一名。
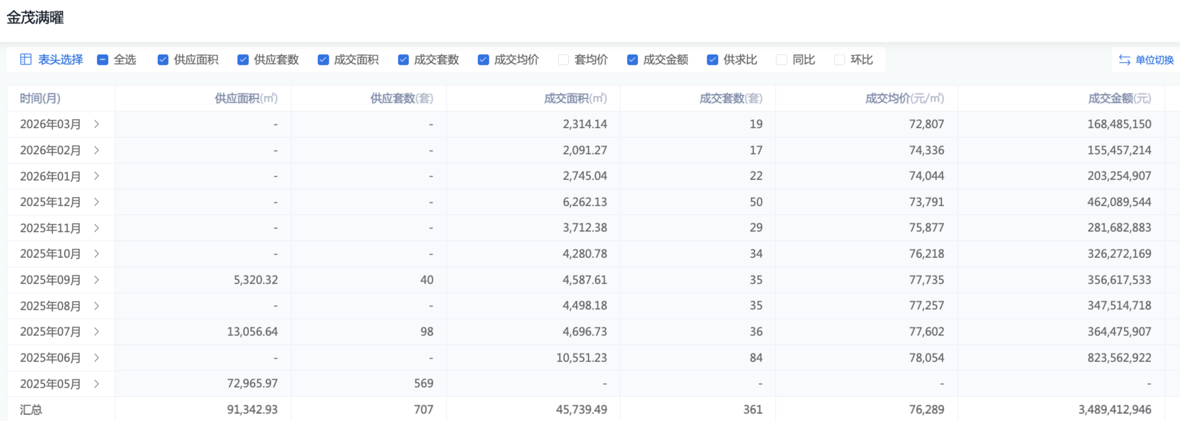
兄弟盘金茂满曜单周网签11套,成交面积0.13㎡,均价7.16万元/㎡。
成交金额总计0.95亿元,排在全市第七位,朝阳第二位。
三间房双子本周的PK,朝观天珺成交金额占头筹,套数上金茂满曜多卖了1套。
但从3月份整体数据来的看,金茂满曜累计网签19套,成交金额1.68亿元,暂时领先。


| 市场成绩单
坚守标杆 vs 流量为王
三间房双子所在地块成交于2月11日,由保利+金茂联手摘得,总价87.295亿元,楼板价约5.16万元/平,溢价率10.5%。
项目包含两幅住宅子地块,保利与金茂通过交叉持股方式将地块分割开发。
南区06地块由保利操盘,开发为“保利朝观天珺”。
主推115/116㎡三居和129㎡/133㎡/159㎡四居,少量120㎡和148㎡户型,共719户。
5月30日、7月20日、9月20日三个两批次共707套房源取证,拟售均价8.48万元/㎡。
目前网签361套,取证房源去化超五成。成交均价7.63万元/㎡,网签金额总计34.89亿元。
D区07地块由金茂操盘,打造“金茂满曜”。
户型为92㎡三居以及122㎡/139㎡/157㎡四居,共541套房源。
去年5月23日和8月2日两批次陆续取证,拟售均价8.95万元/㎡。
目前网签167套,全盘去化超三成。成交均价8.09万元/㎡,网签金额总计17.56亿元。
开盘半年多以来,两个项目的销售数据清晰地反映了市场对其策略的反馈。
截至目前,两个项目合计成交额52.45亿元,地价覆盖率60%。

| 拿地价区别
8000元地价差的策略分化
从成交均价来看,两个项目卖出了4600元的价格差。
但从拿地楼面来看,价差达8000元/㎡!保利地块楼面价约5.6万元/㎡,金茂地块仅4.8万元/㎡。
这不仅是数字差异,金茂满曜在成本控制上更有腾挪空间,也为其后续的定价策略埋下了伏笔,最终朝观天珺备案价接近9万元/㎡,金茂满曜则为8.5万/㎡。
单纯计算地价和售价的利润差,金茂满曜还比朝观天珺多了接近3000元的利润。
然而购房者大概率是不想看这笔账的。
两个项目相距仅有1公里,周边的生活配套资源基本一致,但地铁通达性差异显著。
金茂满曜靠近黄渠站,距离朝阳路更近一些;保利朝观天珺则紧邻朝阳北路,比金茂满曜更靠近地铁,出大门50米就是褡裢坡站。
一个是2分钟到地铁,一个是10多分钟才能走到,对依赖轨道交通的改善家庭而言,这一差距确实构成了日常体验分野。
那么仅值不值每平米多花四五千块买单?100平米的房子就多出大几十万。
10分钟的步行时长其实没那么难以接受,何况金茂满曜还享有22号线(平谷线)定福庄站的规划红利,将来就是双轨盘。
这种情况下,如果产品上做不出差异,换谁都要掐着钱包好好寻思寻思。

| 产品力对决
得房率魔术师VS科技系统先锋
三间房地块成交时正值北京市“好房子”推行之际,鼓励开发商通过赠送面积提升得房率,这为两个项目的产品创新提供了政策支持。
单从产品规划来看,三间房双子应该说是北京楼市最和谐的一对了。
它们没有陷入同质化的价格战,而是选择了完全不同的赛道,通过户型配比、空间逻辑、科技体系、景观叙事等维度的深度切割,精准地将同一板块的客群进行了“分层过滤”。

1、户型配比:大四居 VS 中小改善
这是两者最直观的物理区别,精准卡位巧妙互补,让两个项目能同时覆盖不同预算段的改善客群。
保利朝观天珺:主力为大户型四居,
建面139㎡和157㎡四居占比高达86%,建面92㎡和122㎡三居四居合计仅占14%。
金茂满曜:聚焦中小改善需求,
建面115–120㎡三居占比38%,129–133㎡四居占比40%,130㎡以下户型合计近七成。
↓保利朝观天珺 - 金茂满曜↓

2. 空间逻辑:仪式礼序 VS 功能平权
虽然都是改善户型,但两者对“好房子”的定义完全不同,进一步筛选了不同生活方式的拥趸。
保利朝观天珺(高得房率 + 仪式感):
设计语言:得房率最高可达99%,这也是朝阳区首个接近0公摊的楼盘;无论大小户型均有独立玄关,给足礼序感;多边户转角窗设计,视野更好;顶配户型主卧南北通透。
客群切分:社交型与展示型客户。他们在家需要举办小型派对,或者非常看重窗外的城市景观视野。这种设计满足了“豪宅享受”和“家庭核心社交区”的需求。
高得房率创意除了体现在南向通面宽阳台+北向设备平台的赠送,还有凸窗的设计。
窗户紧贴外墙安装,并向外凸出20厘米,别小看这20厘米,项目开窗就够宽,做了凸窗之后的空间放大感还是很明显的;
金茂满曜(全年龄段 + 平权性):
设计语言:强调资源均好和独立功能区。从主卧独大到双套房制,部分户型采用了“X空间”设计,尽量让每个家庭成员拥有独立的私密空间。
客群切分:实用型与成长型家庭。二胎/三胎家庭是主力,他们需要独立的儿童房、老人的起居室以及大量的收纳空间。
金茂满曜更方正工整,在空间分配上体现了极高的平权智慧,拒绝让老人或孩子成为居住的配角。
部分户型在相邻次卧之间采用了非承重墙或半墙体设计,这种可生长的户型,完美匹配了家庭生命周期的变化,避免了换房的折腾。


3. 科技体系:被动式奢华 VS 主动式健康
科技健康一直是金茂的品牌护城河,也是两个项目的居住体验分水岭。
保利朝观天珺(传统高端精装):
系统:采用常规的高端中央空调+地暖+新风系统(“三大件”),装修侧重石材、金属等材质的视觉奢华感和品牌家电的配置。
客群切分:审美驱动型客户。这类客户对温度湿度的细微变化不敏感,或者习惯了自己调节空调;他们更看重装修风格的现代感、时尚感,喜欢“看得见”的豪华。
金茂满曜(十二大科技系统):
系统:植入金茂招牌的“毛细管网辐射+地源热泵+置换新风”系统,实现恒温(20-26℃)、恒湿(30%-70%)、恒氧、恒静、恒洁。
客群切分:健康驱动型与敏感体质客户。家中有过敏鼻炎患者、婴幼儿或对噪音极度敏感的人群是核心受众。这类客户愿意为了“不用开空调、没有吹风感、家里没有灰尘”的科技体验买单,他们追求的是“看不见”的舒适。

4. 景观叙事:仪式感的轴线 VS 参与式的园林
保利朝观天珺(酒店式归家):
风格:强调中轴对称、宏大的水景入口、气派的门头,营造一种“出入皆人物”的仪式感。园林更像是一个观赏性的背景板。
客群切分:注重身份认同的客户。回家路上的仪式感是他们一天工作的结束和新生活的开始,他们需要这种心理上的尊崇感。
金茂满曜(全龄互动社区):
风格:强调功能性分区,设有专门的儿童游乐区(分龄段)、老年康体区、夜光跑道、宠物乐园。园林是拿来“用”的,而不仅仅是“看”的。
客群切分:注重亲子陪伴与邻里社交的客户。周末孩子能在楼下安全玩耍,老人有地方打太极,年轻人能遛狗,这是典型的“烟火气”社区。


三间房双子之所以“和谐”,是因为它们在同一个物理半径内,构建了两种截然不同的生活平行宇宙。
保利朝观天珺对标高端“天字系”产品,主打高得房率与圈层价值、秩序与尊贵,卖的是“朝阳北路的封面资产”,强调极致的城市占有。
金茂满曜则将首个“满系”落地北京,注重健康科技与生活品质、松弛与艺术,卖的是“东五环外的理想家园”,强调深度的生活共鸣。
这种产品力的深度差异化,使得两个项目几乎互不构成直接竞争。这正是开发商最高明的策略:与其在红海中厮杀,不如在各自的蓝海中称王。
| 开发商画像
规模王者 VS 科技贵族
三间房双子星的背后,是两家央企巨头保利发展与中国金茂,两家房企都拿出了最新产品系,在北京市场展开正面交锋。
朝观天珺开发主体:北京朝新善筑置业有限公司,成立于2025年3月13日,注册资本45亿元。
项目公司董事长、总经理由保利北京总经理李红亮一人担任,营销负责人为董昊阳。
金茂满曜开发主体:北京满茂置业有限公司,2025年3月6日,注册资本45亿元。
金茂北京总经理马浩出任项目公司董事长,项目总为王晓康,营销负责人为尤良银。
拿地之初,两个项目公司股权平分秋色,但是随着项目进入实质开发期,独立操盘模式被执行到了极致,开始着手主体隔离。
2025年9月17日,项目开盘3个月左右,两家房企通过增资对项目公司权益进行了调整。
最终保利控制朝观天珺项目70%的股权,金茂则以70%的权益将满曜项目并表。
抱团拿地是为了安全,中期分治则是为了溢价,这里也体现出双子项目典型的竞合关系。
保利发展企业标签:“央企地产一哥”、“规模之王”。
凭借强大的融资能力和营销网络,擅长快速拿地、快速开盘、快速回款,追求规模与利润的平衡。
2025-2026年,保利的战略性回归核心城市。在行业调整期,进一步收缩战线,聚焦北京、上海、广州等核心一二线城市,强调“好房子”战略。
产品系迭代,全力推广“天字系”(顶级豪宅)、“和字系”(品质改善)、“悦字系”(刚改/刚需)三大产品线。其中,朝观天珺所属的“天字系”代表其最高产品力,旨在占据城市稀缺资源,打造标杆,目前在北京已形成“东西双珺”(海淀嘉华天珺、朝阳朝观天珺)的“天字系”双核格局。
中国金茂企业标签:“科技住宅先驱”、“绿色健康领跑者”。
深耕北京16年,以广渠金茂府一战成名,此后陆续打造西山金茂府、永定金茂府等标杆。倾向于通过高品质的交付和物业服务建立长期的品牌忠诚度,其粉丝群体具有极高的粘性和复购率。
近两年,在经典的“府系”(科技豪宅)之外,重磅推出“金玉满堂”全新产品矩阵,包含“府系”(尊贵奢华)、“璞系”(东方疗愈)、“棠系”(全龄友好)、“满系”(艺术悦己)四大细分赛道。
金茂满曜是其“满系”产品的北京首秀,标志着金茂从单一的“府系”豪宅向多元化产品战略的重大转型。
| 结语:非此即彼,还是殊途同归?
保利与金茂用三间房双子证明:没有最好的产品系,只有最匹配客群的产品系。
对于追求资产效率、身份标签和城市掌控感的精英,保利朝观天珺的“天字系”是无可替代的选择。
对于追求生活质感、身心健康和家庭和谐的中产,金茂满曜的“满系”是更温柔的归宿。
这场“双雄对决”,最终没有输家。它们共同提升了朝阳北路的居住标准,也为北京改善市场提供了两种截然不同却同样精彩的“央企样本”。
在未来,这种“差异化互补”或许将成为大型联合体拿地后的新常态,让每一位购房者都能在城市中找到属于自己的“理想家园”。
面对这两个项目,究竟该如何选择?关键在于认清自己的核心需求与预算边界。
如果是首次改善或偏好科技住宅,预算在900万以内,金茂满曜建面115㎡三居总价约890万元,是朝阳东稀缺的小户型改善选择。五恒系统、艺术化社区与相对亲民的价格,更契合年轻家庭的生活方式。
如果追求纯粹的改善圈层、现成的城市界面,且预算充足,朝观天珺建面157㎡洋房四居尺度开阔,得房率高,双地铁(6号线+规划中的R4线)优势明显,更适合对居住品质有更高要求的客户。
最终的选择,其实是“预算边界”与“生活优先级”的权衡。
在当前市场环境下,理性的购房者更应聚焦自身真实需求,而非被概念或品牌光环主导决策。

相关公司:金茂服务hk00816,保利北京
财经号声明: 本文由入驻中金在线财经号平台的作者撰写,观点仅代表作者本人,不代表中金在线立场。仅供读者参考,并不构成投资建议。投资者据此操作,风险自担。同时提醒网友提高风险意识,请勿私下汇款给自媒体作者,避免造成金钱损失,风险自负。如有文章和图片作品版权及其他问题,请联系本站。
