冰湖重生剧方曾因著作权纠纷被起诉
财经号APP

雷达财经讯,据报道,《冰湖重生》就OST歌词疑似抄袭发文道歉。
天眼查App显示,《冰湖重生》出品方上海耀客文化股份有限公司成立于2012年11月,法定代表人为吕超,注册资本约7320万人民币,经营范围含广播电视节目制作经营、电视剧发行、电影发行、文艺创作等。股东信息显示,该公司由赣州耀客投资管理有限公司、深圳市利通产业投资基金有限公司等共同持股。
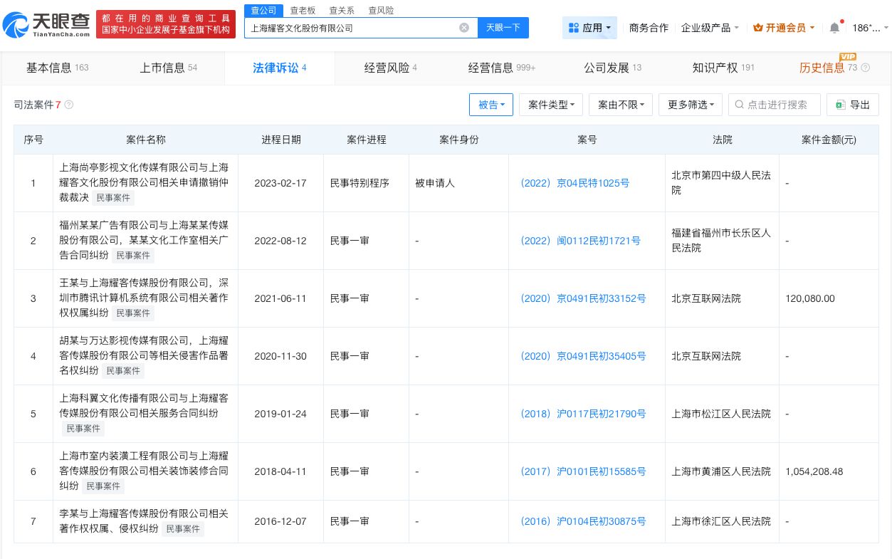
法律诉讼信息显示,该公司曾因著作权权属纠纷、广告合同纠纷等被起诉。



财经号声明: 本文由入驻中金在线财经号平台的作者撰写,观点仅代表作者本人,不代表中金在线立场。仅供读者参考,并不构成投资建议。投资者据此操作,风险自担。同时提醒网友提高风险意识,请勿私下汇款给自媒体作者,避免造成金钱损失,风险自负。如有文章和图片作品版权及其他问题,请联系本站。
0条评论 网友评论文明上网,理性发言
查看更多评论
