华电新能密集成立多家新能源公司
财经号APP
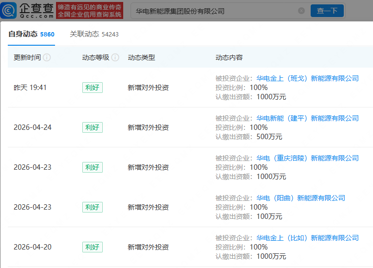
企查查APP显示,近日,华电金上(班戈)新能源有限公司成立,法定代表人为朱岳钢,注册资本为1000万元,经营范围包含:发电技术服务;太阳能发电技术服务;风力发电技术服务;工程技术服务等,由华电新能(600930)全资持股。企查查显示,近期,华电新能已连续成立多家新能源子公司。


财经号声明: 本文由入驻中金在线财经号平台的作者撰写,观点仅代表作者本人,不代表中金在线立场。仅供读者参考,并不构成投资建议。投资者据此操作,风险自担。同时提醒网友提高风险意识,请勿私下汇款给自媒体作者,避免造成金钱损失,风险自负。如有文章和图片作品版权及其他问题,请联系本站。
0条评论 网友评论文明上网,理性发言
查看更多评论
