第二大股东违约持续发酵,潍坊银行股权接连被信托公司司法冻结
在平安信托后国元信托也选择出手冻结潍坊银行股权。
10月16日,国元信托发布了《山东潍坊滨城建设集团有限公司债权投资集合资金信托计划临时信息披露报告》,公告称公司已向合肥市中级人民法院提起诉讼,并依法冻结了保证人滨海旅游所持有的2.1亿潍坊银行股权,案件将于2023年10月17日开庭审理,后续进展待披露。
据了解,该信托计划规模2亿元,期限24个月,首期成立于2021年5月26日,已于2023年5月26日到期,违约近5个月时间。

在国元信托之前,平安信托已火速选择了冻结了潍坊银行的股权。
近期,潍坊滨海旅游集团已发布过《关于公司持有潍坊银行股份有限公司股权被冻结及债务逾期的公告》。
公告披露, 2022年2月14日,潍坊滨海旅游集团与平安信托有限责任公司(下称“平安信托”)签订合同,平安信托成立平安信托宏泰八百三十四号集合资金信托计划,潍坊滨海旅游集团应于2023年8月18日、9月7日前偿还信托贷款本息合计206.46万元。
由于潍坊滨海旅游集团流动资金紧张,未按时偿付上述借款利息。2023年9月19日,平安信托向广东省深圳市中级人民法院申请财产保全,司法冻结潍坊滨海旅游集团有限公司持有的潍坊银行股份有限公司股权共计1.47亿元。
值得注意的是,潍坊滨海旅游集团是潍坊银行的第二大股东,持股比例为12.3%。

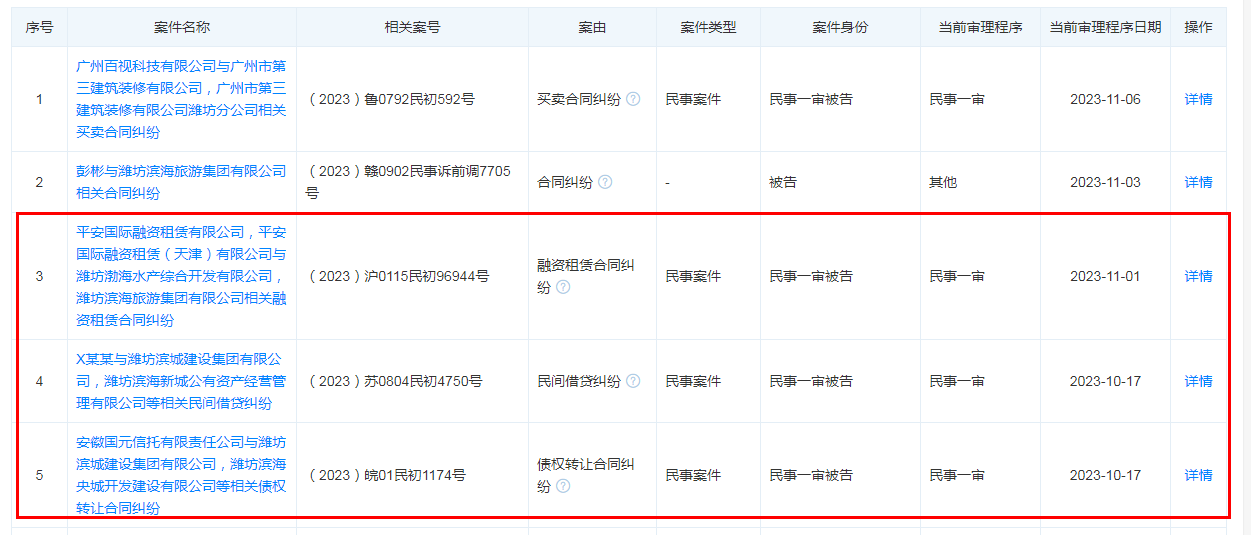
事实上,近期潍坊滨海旅游集团纠纷不断,除了国元信托、平安信托外,平安国际融资租赁公司也将于11月1日与潍坊滨海旅游集团对簿公堂,案由为融资租赁合同纠纷。
公告还披露了潍坊滨海旅游集团的其他债务逾期情况。根据公司2023年9月26日的征信报告,其债务逾期总金额为1.34亿元,主要为融资租赁逾期和债务利息逾期。此外,由于潍坊滨海旅游集团流动资金紧张,未按时偿付投资人购买的公司债权资产,司法冻结潍坊滨海旅游集团持有的潍坊银行股权共计约4.93亿元。
公开资料显示,潍坊银行成立于1997年8月,起初并非国有控股地方银行,于2018年完成股权结构优化。经过该次股权调整后,潍坊银行的国有法人股占比从2017年末的35.151%,提升至2018年末的77.23%,成为地方国有控股商业银行。
截至2023年6月末,潍坊银行的总资产为2534.82亿元,负债总额2362.14亿元,所有者权益172.68亿元;2023年1-6月,实现净利润7.65亿元。
同时间,潍坊银行不良贷款余额19.89亿元,不良贷款率1.44%,同比上升12个百分点;资本充足率、一级资本充足率、核心一级资本充足率分别为11.25%、10.62%、8.8%。
去年年底,潍坊银行公开招标选聘首次公开募股保荐人及整体协调人、会计师事务所和法律顾问。不过在那之后就无更多的进展信息。
财经号声明: 本文由入驻中金在线财经号平台的作者撰写,观点仅代表作者本人,不代表中金在线立场。仅供读者参考,并不构成投资建议。投资者据此操作,风险自担。同时提醒网友提高风险意识,请勿私下汇款给自媒体作者,避免造成金钱损失,风险自负。如有文章和图片作品版权及其他问题,请联系本站。
