同晖智能家居所持息县同晖智能科技7.5万元股权被冻结


乐居财经 6月8日消息,深圳市同晖智能家居科技有限公司新增一则股权冻结信息。
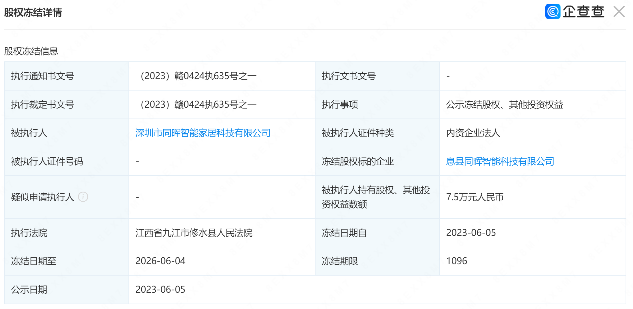
企查查显示执行通知书文号为(2023)赣0424执635号之一;被执行人为深圳市同晖智能家居科技有限公司;冻结股权标的企业为息县同晖智能科技有限公司;冻结权益数额为7.5万元人民币;冻结期限从2023年6月5日到2026年6月4日。
息县同晖智能科技有限公司成立于2020年6月5日,法定代表人为王新日,注册资本为10万元,经营范围为物联网服务。该公司由深圳市同晖智能家居科技有限公司持股75%,王新日持股25%。
深圳市同晖智能家居科技有限公司成立于2015年12月2日,法定代表人为陈文杰,注册资本为5000万元,经营范围包括物业管理、投资咨询企业管理咨询、企业管理培训;汽车销售与服务等。该公司由徐敏持股85%,陈文杰持股15%。
(责编:邓如菲)
财经号声明: 本文由入驻中金在线财经号平台的作者撰写,观点仅代表作者本人,不代表中金在线立场。仅供读者参考,并不构成投资建议。投资者据此操作,风险自担。同时提醒网友提高风险意识,请勿私下汇款给自媒体作者,避免造成金钱损失,风险自负。如有文章和图片作品版权及其他问题,请联系本站。
