起底百亿问题型私募:失联的“大佬”隐藏了多少秘密?
文|翠鸟资本
最近,百亿私募大佬汪潮涌失联成为热门话题。
这位投资圈传奇人物,执掌着北京信中利股权投资管理有限公司,旗下资产规模超百亿元人民币。
就在此次失联消息曝出前,这家私募机构出现诸多治理问题。
复盘发现,汪潮涌的私募生意其实早已到了“赚不到钱”的尴尬地步。
“问题型”私募
汪潮涌执掌的信中利股权投资成立于2012年,2015年正式登记备案为私募管理人。
据公开披露信息,这家私募从事新产业投资、控股实业经营、投资增值服务等业务,其中新产业投资业务包括创业投资基金管理业务、创业投资及孵化业务。
然而,打开中国基金业协会的备案系统,信中利股权投资首页出现了四大“问题”。

从上图可以看出,涉及一条“机构诚信信息”,即2021年4月19日被北京证监局采取责令改正的行政监管措施。
据了解,这张罚单涉及违反基金合伙协议约定、投资者适当性管理不到位、承诺最低收益以及未及时披露重大诉讼和股权冻结事项。
也就是说,信中利存在向私募基金持有人“透露”最低收益率,等于变相承认刚兑,但股权私募是高风险投资,承诺最低收益等行为,在很多问题型私募前期宣传中,均存在误导投资者。
另外涉三条机构提示信息,分别包括:
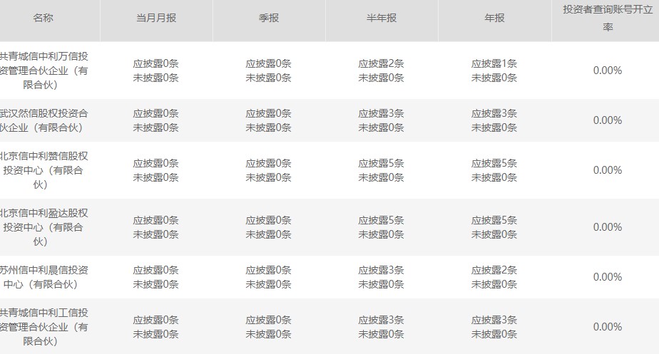
“投资者定向披露账户开立率低”,指私募基金管理人在信披备份系统定向披露功能中为投资者开立查询账号的比率低于50%(不含50%)。
------由于基金业协会让私募运作更加阳光化,查询账号可以让投资者看到更多基金管理人的信息,做到信息透明,但信中利做的相当“保密”。如下图所示,信中利旗下产品的投资者查询账户开立率全部为0。

“存在长期处于清算状态基金”,指私募基金管理人存在提交清算开始后超过6个月未完成清算的私募基金。
“存在逾期未清算基金”,指私募基金管理人存在超过到期日3个月且未提交清算申请的私募基金。
私募基金清盘/超过相关期限后,私募机构需要通过合规/法务部门向中基协更新相关信息,但长达半年以上基金仍在清算/没有正式清算手续,直接关系到内部合规的问题,也涉及到持有人的利益。
“巴菲特模式”赚了多少钱?
信中利最初挂牌新三板时,曾有卖方团队称,该私募运用中国特色的巴菲特投资模式,汪潮涌作为巴菲特价值投资模式的忠实拥护及追随者,坚定的践行并积极将巴菲特模式进行中国化尝试,“逐渐形成了一整套具有中国特色的巴菲特投资模式”。
之所以业内对信中利有甚高的褒奖,与汪潮涌本人经历有关。他出生于湖北,15岁就考上了华中理工大学(现在的华中科技大学)信息工程专业学术;1984年,年仅19岁的他考上了清华大学经管学院的研究生。
1985年汪潮涌作为第一批清华大学公派留学生赴美留学,获美国罗格斯大学MBA学位。之后,他在美国多家金融巨头工作,包括摩根大通、标准普尔和摩根士丹利。1990年代末期,他还受国家开发银行邀请,担任全职高级顾问,参与筹备和组建国家开发银行的投资银行业务。
他有着各种光环。在汪潮涌的“名片效应”下,信中利也有着诸多的光环,诸如:“深耕全产业链投资的海归创投第一股”、“全产业链大资管平台”、“中国特色的巴菲特投资模式”等等。
值得注意的是,业内对其资金来源相当“羡慕”:运用高比例的自有资金投资。自有资金股权投资在投资标的进入、退出时间及方式等方面有更大的自主性。
然而,当我们抛开这些虚名,去实实在在看其业绩时,就尴尬了。
以信中利2021年半年报为例,上半年净利润亏损2.11亿元,相比去年同期骤降幅度高达387%。

再看2020年的投资表现,信中利的净利润全年亏损高达16.27亿元,相比2019年下降幅度高达惊人的23751%。

此外,股东结构中,汪潮涌与李亦非为夫妇,二人合计持股比例占到总股本超50%,而汪潮涌的持股已经遭到司法冻结。

更为严重的是,一家基金投资公司,管理费本身是重点收入,但信中利出现大幅滑坡。2020年度公司基金管理业务收入为8546万元,较去年同期下降57.06%。
有一个细节不能忽略。
信中利曾在年报披露,公司管理基金的资金募集主要来自于自身渠道。截至2020年末,公司在管基金中,自行募集资金的规模占总募集额的比例约99%,委托第三方机构募集的规模占总募集额的比例约1%,委托第三方机构销售的募集费用一般按照募集金额的一定比例计收。
那么,这个自身渠道究竟是什么?既然是自有模式,为何基金业协会备案信息迟迟未能更新,究竟隐藏了什么信息?
这也许就不难理解汪潮涌失联或涉职务侵占罪的消息了。
一家“自主搞钱”的私募机构,背后客户究竟是谁?基金运作状态有什么猫腻?汪潮涌和妻子李亦非去哪了?所有的疑团还有待解开。
※此文为翠鸟资本原创文章,未获授权请勿转载。
财经号声明: 本文由入驻中金在线财经号平台的作者撰写,观点仅代表作者本人,不代表中金在线立场。仅供读者参考,并不构成投资建议。投资者据此操作,风险自担。同时提醒网友提高风险意识,请勿私下汇款给自媒体作者,避免造成金钱损失,风险自负。如有文章和图片作品版权及其他问题,请联系本站。

