停工+易主!佛山这个盘还是被法拍!剩余产权不到39年
停工2年,锦绣蓝湾华府终于还是走向了法拍的境遇!
日前,乐居编辑从京东法拍获悉,里水金沙洲锦绣蓝湾华府项目正式上架法拍,起拍价16843.96万,拟将于11月24日进行法拍。

2栋楼已封顶 剩余产权不到39年法拍资料显示,法拍对象即为位于广东省佛山市南海区里水镇甘蔗村上街“虎头岗”的房地产,建设单位为佛山市信隆置业投资有限公司,建设项目包括有锦绣蓝湾华府1栋、2栋、3栋、4栋及5栋。

据悉,该项目已建有2幢建筑物分别为2栋和3栋,主体已经封顶但未达工程交付标准。

其中,2栋所属建筑物为框剪结构17层,住宅、消防控制室、首层公共架空层、地下室风井合计建筑面积为6280.68㎡。3栋所属建筑物为框剪结构17层,住宅、首层公共架空层、地下室风井合计建筑面积为6275.36㎡。

2幢楼栋层高均约3米,安装铝合金窗窗框,水泥地面,内外墙及天花为批荡,室内无水电等基础设施,公共部分均未装修。


已建地下室位于2栋及3栋的负一层,建筑面积为1999.35㎡,层高约3米,水泥地面,内外墙及天花为批荡,存在积水。

至于其余的1栋、4栋及5栋这三栋还均未开始投入建设。

值得一提的是,项目所在土地总占地16424.3㎡,土地用途为城镇住宅用地,土地使用权终止日期为2064年6月24日,换言之,项目还剩下产权不到39年。
最早由当代开发 后易主中城投资说起该项目背后的故事也可谓是一波三折。2017年4月,当代置业与广东长信地产在佛山正式签订《项目合作战略协议》,通过合作形式获得了里水虎头岗项目的开发权,项目备案为当代摩码华府,规划394套房。

而彼时,由于当代资金的问题,项目开发还不到5年时间,就在2022年9月,项目就传来当代易主中城投资,备案名也从摩码华府变更为锦绣蓝湾华府的消息。就在同年,项目调整了部分规划,虽维持了5栋楼的规划不变,但将原规划的394套房源增加到了404套房源。

然而,项目自2023年3月26日正式开放营销中心后不到半年时间,项目又再无音讯。就连其官方账号也停更在了2023年的6月。

从该账号获悉,项目原计划打造建面约83㎡和103㎡的2梯4户产品。

所幸的是,该项目还尚未获取预售证并入市销售。从地图上看,该项目就位于金沙洲甘蕉板块,紧挨星照人家花园和锦绣蓝湾,周边有甘蕉公园、旗峰小学和里水高级中学等。

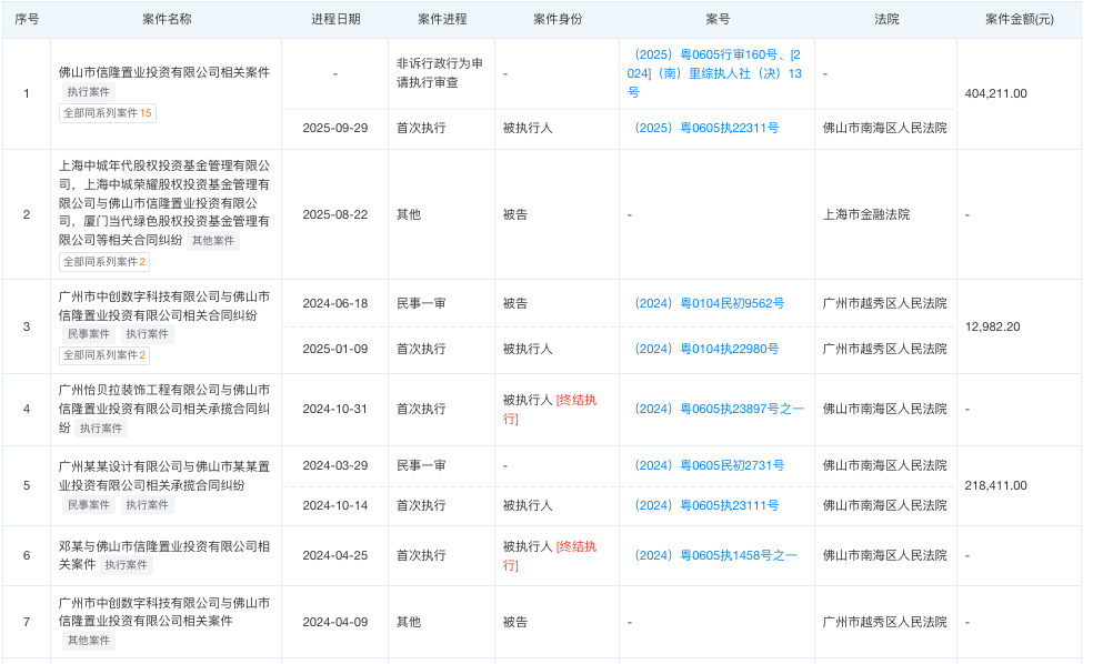
涉案金额近550万元!项目已于去年查封那么问题来了,项目究竟经历了什么?乐居翻查资料发现,项目的开发方佛山市信隆置业投资有限公司目前背后股东仍为中城投资和广东长信,前者占股60%,后者占股40%。

该公司自2024年以来便开始各类纠纷案件不断,截止目前已涉案超20起,涉案金额近550万元。

而乐居从资料还可知,该项目也正是于2024年6月正式开始查封。最后问题来了,你认为项目此番还有机会重生吗?
文章来源:乐居买房
财经号声明: 本文由入驻中金在线财经号平台的作者撰写,观点仅代表作者本人,不代表中金在线立场。仅供读者参考,并不构成投资建议。投资者据此操作,风险自担。同时提醒网友提高风险意识,请勿私下汇款给自媒体作者,避免造成金钱损失,风险自负。如有文章和图片作品版权及其他问题,请联系本站。
