立华股份:二季度亏损,现金难以覆盖短债,还要分红超一半利润?

来源 | 财经九号院作者 | 胖虎
8月18日晚间,江苏立华食品集团股份有限公司(股票代码:300761,以下简称“立华股份”)发布了2025年半年度报告。
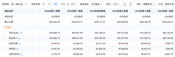
这份财报显示,公司上半年实现营业收入83.53亿元,同比增长7.02%,归属于上市公司股东的净利润1.49亿元,同比下降74.10%。表面上的营收增长难掩盈利能力大幅下滑的现实,立华股份正面临着诸多挑战。
特别是第二季度业绩再度出现亏损,而长期以来立华股份的在手现金都难以覆盖短期债务,流动性紧张难以缓解,即便在这种情况下,立华股份2025年中期的拟现金分红比例,远比2024年的分红比例要高。
这种业绩下滑甚至亏损、公司流动性紧张却要逆势提高分红比例的情况,难不成又是让大股东吃肥肉?毕竟立华股份的控股股东占上市公司近半股权。
1
立华股份主要从事黄羽肉鸡、商品肉猪的养殖和销售业务,其中黄羽肉鸡业务是其核心主业。上半年,公司实现鸡收入63.35亿元,同比下降6.76%;实现猪收入19.47亿元,同比增长117.65%。
从销售数据来看,上半年公司销售肉鸡(含毛鸡、屠宰品及熟制品)2.60 亿只,同比增长10.37%,销售肉猪94.96万头,同比增长118.35%。在销售增长的情况下,肉鸡业务收入却出现下滑,这主要是因为价格因素。

上半年黄羽肉鸡市场行情总体低迷,公司商品鸡销售均价同比下降 18.40%,导致鸡板块呈现阶段性亏损。虽然公司肉鸡完全成本降至11元/公斤以内,但价格的大幅下跌使得毛利率仅为6.21%,同比下降7.65个百分点。肉猪业务方面,尽管营收大幅增长,毛利率达到22.46%,同比上升6.91个百分点,但考虑到公司整体业绩的下滑,肉猪业务的增长似乎未能完全弥补肉鸡业务的亏损。

分季度来看,公司业绩的恶化趋势更加明显。第一季度,立华股份实现归母净利润2.06亿元,而到了第二季度,归母净利润变为亏损5726万元,环比盈转亏。且第二季度公司毛利率为7.95%,同比下降10.67个百分点,净利率为-1.51%,较上年同期下降13.44个百分点。这表明在第二季度,市场环境对立华股份的冲击加剧,公司盈利能力急剧下降。
2
除了业绩下滑,立华股份的债务问题也不容忽视。截至2025年6月30日,公司负债合计63.1亿元,资产总计153.62亿元,资产负债率达到41.08%,较2024年底的37.8%进一步攀升。
从债务结构来看,流动负债占比较高,流动负债55.65亿元,占负债总额的88.2%。其中,一年内到期的短期债务达24.1亿元(短期借款+一年内到期非流动负债)。

而立华股份的短期偿债能力却很弱,截止到今年6月底,立华股份的货币资金情况虽有改善,较上年末增加了151.59%达到4.61亿元,但相比24亿多的短期债务压力依然很大,公司现金及现金等价物远远难以覆盖短期债务,且这种情况在立华股份长期的财报中均存在。
与此同时,立华股份的经营活动产生的现金流量净额仅为5.59亿元,同比又下降17.47%,这意味着公司通过经营活动获取现金的能力在减弱。如果短期债务集中到期,公司可能面临资金周转困难,流动性风险增加。
此外,从资产负债表的其他项目来看,至今年6月底,立华股份的存货较上年末增加 13.56%,存货的增加可能是由于销售不畅导致库存积压,这不仅占用了公司资金,还可能面临存货跌价风险,进一步影响公司资产质量。
3
虽然立华股份在半年报中表示,下半年黄羽肉鸡的传统消费量高于上半年,叠加节假日、旅游消费需求的回升,公司养鸡业务经营情况有望迎来好转。但市场的不确定性依然存在。
黄羽肉鸡价格受多种因素影响,包括市场供需关系、饲料价格波动、疫情等,而猪肉价格已经出现下行。如果下半年市场行情未能如预期改善,公司业绩可能继续承压。
更何况由于豆粕、菜粕等饲料原材料涨价,近期新希望、海大等国内的多家饲料企业宣布涨价。而在成本控制方面,虽然上半年立华股份的肉鸡完全成本降至11元/公斤以内,肉猪完全成本降至12.8元/公斤,但随着饲料价格上涨,公司成本优势将被削弱,盈利空间将进一步压缩。
此外,更值得注意的是,除了业绩预期并不乐观之外,立华股份的现金分红比例(含拟分红)却出现了逆势走高的反常现象。
数据显示,立华股份2024年全年累计现金分红总额达到6.62亿元。从分红比例来看,这一金额占 2024 年度归属于上市公司股东净利润15.21亿元的43.53%。

但到了2025年半年度,提出拟每10股派发现金红利1元(含税)、合计派发现金红利 8373万元的分红方案来,按此方案派现额占上半年净利润比例为 56.27%。而这样的方案居然是在立华股份二季度业绩亏损、未来业绩承压,以及在手现金难以覆盖短期债务、流动性紧张的情况下提出的。
这就明显给大股东派发分红大礼包了,毕竟大股东持股接近50%,显然要切走分红蛋糕的最大一块。只不过,将公司账上的现金分走一大块后,对公司的偿债能力、现金流风险、持续经营会带来怎样的负面影响啊!
(免责声明:本文数据信息均来自上市公司财报年报的公开数据,以及东方财富网、企业预警通等公开信息,数据或信息如有遗漏,欢迎更正,并以公司最终披露为准。未经授权,本文禁止转载、抄袭或洗稿。)
财经号声明: 本文由入驻中金在线财经号平台的作者撰写,观点仅代表作者本人,不代表中金在线立场。仅供读者参考,并不构成投资建议。投资者据此操作,风险自担。同时提醒网友提高风险意识,请勿私下汇款给自媒体作者,避免造成金钱损失,风险自负。如有文章和图片作品版权及其他问题,请联系本站。
