68岁孙飘扬难退休,恒瑞医药Newco两年终“结果”
《星岛》记者 黄冬艳 广州报道

继2021年退休又复出后,68岁的孙飘扬第二次成功连任恒瑞医药董事长。
一个半月前,恒瑞医药董事会换届名单披露,4月16日,这份几乎全员连任的名单在董事会会议中正式通过,以掌舵者孙飘扬为首,戴洪斌、冯佶等执行董事整体留任。

▲恒瑞医药董事长孙飘扬
这并不是一个让行业意外的消息。
无论是从企业国际化战略铺排关键期的角度,还是基于外部国际市场动荡的局势考量,此时以核心管理层的稳定来确保恒瑞这艘大船在航海过程中既定战略方向不变,尽可能减少变量因素,都显得尤为重要。
而战略稳定性得以延续的同时,恒瑞医药的国际化布局也迎来一个关键信号——当地时间4月16日,恒瑞医药Newco出海,持有一定股权的减肥药公司Kailera(股票代码:KLRA,以下简称:Kailera )顺利于纳斯达克上市,成为美国2021年以来美股生物科技领域最大规模IPO。
所谓“行百里者半九十”。作为贯穿恒瑞医药从创立到成为国内“医药一哥”整个发展历程的灵魂人物,已经68岁的孙飘扬,仍需站好最后一班岗。
“双艾”受挫,Newco先“结果”
NewCo即New Company,是药企专门为承接某项或某几项管线而新成立的海外独立实体公司,由国内企业注入相关管线资产并持有一定股权,海外资本或团队负责运营。
近两年,国内先后有十余家创新药企业达成了超20起Newco模式的管线交易。刚登陆美国资本市场的Kailera则是恒瑞医药NewCo模式出海的首个公司,也是掀起近两年国内创新药领域NewCo热潮的源头。
Kailera成立于2024年5月,由著名投资机构贝恩资本联合卡塔尔投资局等机构成立,管理团队亦主要由具有国际经验的成员组成。
同月,恒瑞医药将旗下3款自主研发的用于减重及糖尿病的GLP-1类创新药研发管线相关商业化权益授予Kailera,除获得1.1亿美元首付款,以及临床开发及监管里程碑款,未来销售分成,恒瑞医药还获得Kailera 19.9%的股权。
凭借恒瑞医药注入的上述管线资产,Kailera先后于2024年10月、2025年10月完成A轮、B轮融资,并在2026年4月,以16美元/股的发行价于美国纳斯达克上市,发行3906万股,募资总额6.24亿美元。
《星岛》从恒瑞医药最新年报获悉,Kailera被列入恒瑞医药按其他公允值计量的其他非流动金融资产项中,截至2025年末,恒瑞医药持有Kailera 11.5%的股权,资产总额约9.07亿元。
而Kailera手中的研发管线,无论国内还是国外,进展最快的适应症均已顺利推进至Ⅲ期临床,除了注射剂,还有口服剂型。随着该公司成功上市并获得资本市场助力,公司的后续研发及商业化进程有望得以加速,预计2026年可读出多项关键临床数据,在大热的减肥赛道拥有一席之地。
而与之股权绑定的恒瑞医药可谓“旱涝保收”,此前已凭借对外授权获得数亿元资金回报,未来成功商业化开花结果后,亦可获得高分成、资本增值。
但比起收入,Kailera上市更重要的意义还在于,恒瑞医药有了“NewCo”出海从概念到成功落地的案例。
醴泽资本创始管理合伙人张勇向《星岛》指出,作为行业领头羊,恒瑞医药“NewCo”的成功具有行业借鉴意义,“可以在产业化和资本化两个维度规避地缘政治的影响,顺利进入美国和全球市场。”
这也是掌舵者孙飘扬几年前“重出江湖”后,为恒瑞锚定的“借船出海”战略核心:将管线权益对外授权给国际大企业或与国际资本合作,借助对方的产品研发、商业化等经验,在规避相关风险的同时,加速进入国际市场。
此前在公开活动上,孙飘扬就曾坦言,恒瑞医药自主国际化有两大挑战,一方面是地缘政治及产业政策不确定因素较多;另一方面,要将产品推向海外市场,不仅临床投入成本更大,推进国际商业化的过程中也面临巨大挑战。
但在市场竞争越来越激烈,寻找全球化市场增量日渐急迫的情况下,市场已经不允许恒瑞医药一步步慢慢来,因此转而选择对外授权的方式借力打力,远比自己探索见效更快、更稳。
近几年,恒瑞医药“双艾”组合闯荡FDA(美国食品药品监督管理局 )屡屡受挫,而NewCo公司Kailera不足两年便成功落地便是最好的佐证案例。
《星岛》了解到,“双艾”组合为恒瑞医药旗下卡瑞利珠单抗联合阿帕替尼治疗癌症的组合疗法,过去三年两次向FDA递交上市申请均因生产环节问题被拒绝,直到2026年1月第三次递交申请,才于2月份获得FDA正式受理,终于进入审评环节,但目前仍未有明确结果。
创新药收入近六成,国外收入占比仅4.26%
在2025年财报中,恒瑞医药表示,创新是制药企业探索全球市场机遇成功的关键因素, 而创新药从研发到上市销售环节颇多且时间周期长达10年以上,“期间任何决策偏差、技术失误都将影响创新成果。”
这一结论,是医药一哥管理层曾经出现决策偏差的真实写照。
2011年,恒瑞医药已陆续有创新药进入商业化,但此后十年仿制药仍是其收入主要支撑。2020年孙飘扬将恒瑞医药指挥棒交给接班人周云曙后,因仿制药集采降价、应对决策失误等因素影响,医药一哥经历了营收净利润接连下滑、内部管理层动荡、市值大跌的两年“至暗时刻”。
仅离开不足两年的孙飘扬不得不在2021年7月回归掌舵,并制定新的发展战略,砍掉六成仿制药研发,重心转向创新药研发,此后五年里,恒瑞医药真金白银砸下500亿研发投入,终于换来创新药成果加速兑现。
2024年,恒瑞医药创新药收入129.61亿元,贡献比重首次过半达51.8%,2025年比重进一步提升至58.3%,达到163.42亿元,同比增长26.09%。
这一数据的变化,也被视为恒瑞医药成功向创新药转型,估值逻辑开始重构的重要信号。
但从海外收入来看,恒瑞医药的国际化布局,却尚在初步阶段。2022—2024年,包含仿制药及创新药产品,恒瑞医药来自国外的收入分别为7.79亿元、6.17亿元、7.16亿元,2025年虽迅速提升至13.48亿元,却仍不足同期316.29亿元总营收的零头,占比仅4.26%。

▲恒瑞医药近五年国外收入情况,来源:同花顺
为此,恒瑞医药做了两手准备,一是通过对外授权提前兑现创新药价值,二是内部逐渐培养国际商业化能力,并于2025年顺利在港股上市后,进一步推进国际化布局。
《星岛》了解到,2023年至2025年,恒瑞医药已通过对外许可、NewCo和战略联盟等方式,完成12笔海外业务拓展交易,潜在总交易价值超270亿美元。
与之相关的另一组数据是,2025年恒瑞医药创新药对外许可收入达33.92亿元,同比增长25.62%,远超同期国外产品收入,且已被视为常态化,有望随着对外授权合作的持续推进,进一步推动恒瑞医药整体收入增长。
海外市场商业化层面,恒瑞医药的策略目前主要仍是与当地医药分销商合作,借助对方的渠道与营销网络切入市场。“公司未来也将加强自有海外销售团队的建设,以增加当地影响力与市场把控力。”
而搭建自有团队的前提,是具备组建团队的领导者。因此,孙飘扬近两年已先后拉拢多位具有外企经验背景的行业人士加盟,组建了一个具备国际商业化的高管团队。
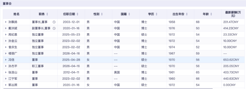
包括孙飘扬在内,目前恒瑞医药的非独立董事共有6人,49岁的副董事长戴洪斌为内部培养,负责整体战略执行与运营管理。
65岁的张连山曾拥有礼来十余年的研发经验,目前为恒瑞医药创新药研发的核心领导者;2023年基于国际化战略加入的江宁军,同样拥有礼来、赛诺菲研发管理经验,主导恒瑞医药的临床开发、商务拓展与资本市场。
值得一提的是空降的总裁冯佶。其2025年才加入恒瑞医药,担任总裁兼首席运营官,随后进入董事会,拥有阿斯利康20余年全球管理经验,被认为是恒瑞医药强化全球战略及构建国际化商业能力的重要助力。
2025年财报显示,冯佶亦是恒瑞医药目前高管团队中年薪最高的一位,2025年薪酬为653.62万元。

▲2025年恒瑞医药董事成员及薪酬,来源:同花顺
财经号声明: 本文由入驻中金在线财经号平台的作者撰写,观点仅代表作者本人,不代表中金在线立场。仅供读者参考,并不构成投资建议。投资者据此操作,风险自担。同时提醒网友提高风险意识,请勿私下汇款给自媒体作者,避免造成金钱损失,风险自负。如有文章和图片作品版权及其他问题,请联系本站。
