东莞银行:程劲松任董事长后业绩持续下滑,且屡遭监管重罚

文 | 秋山论商业
在众多商业银行中,东莞银行的追求上市之路绝对称得上曲折坎坷。经过17年的等待之后,东莞银行依旧未能圆梦。今年9月30日,东莞银行的IPO进程再度被
与此同时,东莞银行的业绩陷入了持续下滑。前不久发布的2025年第三季度信息披露报告显示,东莞银行依旧保持着营收和净利润双降的态势。东莞银行业绩下滑的苗头出现在2024年上半年,并在2024年第三季度首次出现“双降”。
而无论是营收和净利润“双降”,还是IPO进程四次被中止,都是发生在程劲松出任东莞银行董事长之后。
连续四次被
中止 IPO审核,提升资本充足率想法暂时落空
成立于1999年9月的东莞银行,2008年就开始申请IPO,并在这一年首次向证监会递交上市申请材料。2012年,东莞银行的IPO进入“落实反馈意见”阶段,但是因为未完成预披露,在2014年被证监会终止审查,首次上市尝试以失败告终。
2018年,东莞银行重启上市进程,在广东证监局办理了辅导备案登记,并于2019年2月再次提交IPO申请材料。2023年,全面注册制正式落地,东莞银行的IPO审核工作过渡至深圳证券交易所。遗憾的是,这次上市申请并不顺利,在2024年3月31日因“财务资料过期”而中止。
此时距离程劲松出任东莞银行董事长刚好过去4个月时间,他的任职资格在2023年11月30日获得国家金融监督管理总局广东监管局核准,并在2024年6月25日实现连任。
尽管出任董事长才4个月时间,东莞银行的这次IPO申请,程劲松应该是全程参与了。自2015年起,程劲松就担任东莞银行的行长,而此时距离东莞银行的首次IPO申请失败刚刚过去一年。
2024年3月31日的这次中止审核,并没有让东莞银行打退堂鼓,他们在6月29日更新提交相关财务资料恢复审核,但是9月30日再次因“财务资料过期”中止。
不甘心的东莞银行2024年12月30日再度更新提交相关财务资料恢复审核,今年3月31日还是因“财务资料过期”中止。算上这一次,东莞银行过去1年半,已经连续4次被

在IPO之路上“屡败屡战”,说明东莞银行对上市充满渴望和期待。东莞银行之所以如此执着于上市,是想借此补充资本。
2025年第三季度信息披露报告显示,截至9月末,东莞银行的法人母公司口径核心一级资本充足率为9.13%,一级资本充足率为10.28%,资本充足率为13.64%。核心一级资本充足率虽然较2022年触及的8.56%低点有所回升,但仍持续低于城商行平均水平,而且再度呈现出下滑的趋势。

在招股书中,东莞银行明确表示,上市的一个主要目的就是为了拓展融资渠道,提高资本充足率,提升风险抵御能力,增强综合竞争力。招股书同时指出,随着各项业务的稳健、快速发展和资产规模的不断提升,预计未来的资本充足水平将有所下降。

连续四次被
首次“双降”后业绩持续下滑,资产质量也有下行风险
上市进程波折不断的东莞银行,过去一年多的业绩同样遭遇困境。2024年上半年,东莞银行的营收开始出现下滑,从2023年同期的54.98亿元,减少0.69%至2024年上半年的54.6亿元。
到了2024年第三季度,东莞银行的营收和净利润全面出现下滑。2024年前三季度,东莞银行实现营收76.44亿元,同比下滑2.1%;实现净利润32.15亿元,同比下滑6.27%,这也是东莞银行首次出现营收和净利润“双降”的情况。
更为关键的是,“双降”的局面一直没有改善,而且降幅有扩大的趋势。2025年第三季度信息披露报告显示,东莞银行前三季度实现营收69.18亿元,同比下滑9.39%;实现净利润25.44亿元,同比下滑20.65%。

虽然东莞银行的利息净收入只同比下降了0.22亿元,而且手续费及佣金净收入同比增加了1.62亿元,但投资收益的波动性正在加剧业绩风险。东莞银行的投资收益从去年同期的17.33亿元,下降到了今年前三季度的13.43亿元,公允价值变动收益从2.36亿元变成了亏损2.09亿元。这两项收益的下降,成为东莞银行营收和净利润大幅下滑的重要原因。
在业绩持续下滑的同时,东莞银行的资产质量有下行的风险。招股书显示,东莞银行的不良贷款率从2023年末的0.93%,增加到了2024年末的1.01%,不良贷款余额也来到了37.07亿元。

相应的,东莞银行的逾期贷款在快速增加,2024年末达到了52.89亿元,比2023年末的43.9亿元,增加了近9亿元。东莞银行在招股书中也提到,受国内外宏观经济、我国产业政策调整、经济结构转型等因素影响,部分借款人或担保人可能在营运、财务和流动性方面遇到困难,借款人或担保人偿还、代偿本行债务的能力可能下降。

合规管理和风控水平下滑严重,近两年屡遭监管部门重罚
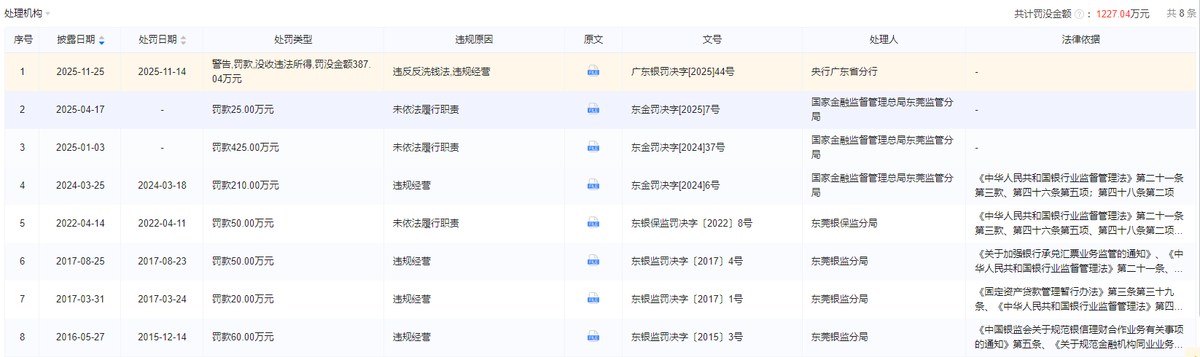
过去这两年,东莞银行在合规方面的表现同样不算太好,频频遭到监管部门处罚,其中不乏数百万元的大额罚款。
中国人民银行广东省分行近日披露的行政处罚决定信息显示,因违反金融统计、支付结算、金融科技、货币金银、国库、征信、反洗钱业务管理有关规定,东莞银行合计被罚款387.04万元,处罚日期为今年11月14日(广东银罚决字〔2025〕44号)。

根据国家金融监督管理总局广东监管局官网在今年1月3日发布的消息,东莞银行被国家金融监督管理总局东莞监管分局罚款425万元,原因是贷款三查不尽职导致贷款资金被挪用、票据业务贸易背景及保证金来源审核不严、个人消费贷产品存在合规漏洞、同业投资资产分类不准确,投前调查不尽职、向“四证”不全的项目提供融资(东金罚决字〔2024〕37号)。

2024年3月18日,国家金融监督管理总局东莞监管分局对东莞银行罚款210万元,原因是贷款业务严重违反审慎经营规则;贷款风险分类不准确;强制借款人购买保证保险;金融服务违规收费(东金罚决字〔2024〕6号)。

今年4月份,东莞银行还因为股东股权管理不到位、未穿透认定主要股东关联方,被罚款25万元(东金罚决字〔2025〕7号)。
作者在企业预警通上面翻看了一下东莞银行本行此前的被处罚记录,发现一共只有8条,总罚款为1227.04万元,过去这2年就占了4条,而且总计被罚1047.04万元。这也说明东莞银行过去这两年的合规管理与内控水平,出现了严重下滑。

不只是东莞银行本行,分支行同样面临相应的问题。今年4月份,东莞银行被罚款的同时,东莞银行东莞分行被罚款85万,原因是贷款三查不严,大额关联授信风险管控不到位。此外,时任东莞银行东莞分行厚街支行行长、时任东莞银行东莞分行厚街支行公司客户经理被予以警告。

无论是连续四次被中止IPO审核,还是业绩持续下滑,又或是合规管理和内控水平的滑坡,都是在程劲松出任东莞银行董事长之后,这无疑会给他带来不小的压力。如何带领东莞银行走出当前的困局,是程劲松及其团队接下来需要重点考虑的。
注:本文数据和信息来源于公司年报和公告、企业预警通、媒体报道等公开渠道,仅供参考,不构成投资建议。未经授权,本文禁止转载!
·END·
财经号声明: 本文由入驻中金在线财经号平台的作者撰写,观点仅代表作者本人,不代表中金在线立场。仅供读者参考,并不构成投资建议。投资者据此操作,风险自担。同时提醒网友提高风险意识,请勿私下汇款给自媒体作者,避免造成金钱损失,风险自负。如有文章和图片作品版权及其他问题,请联系本站。
