绵阳银行:与被执行人开展保理业务,税收滞纳金猛涨至500多万
文 | 秋山论商业
经历了2020年的净利润短暂下滑之后,绵阳市商业银行(下称“绵阳银行”)这几年重回快车道,一直保持着高速增长。2025年,绵阳银行的势头不减,前三季度营收同比增长18.5%至47.49亿元,净利润更是同比增长41.5%至17.85亿元。
不过,绵阳银行这份优异的成绩单背后也有些许遗憾,该行曾在2021年提出了多项经营目标,其中就包括2025年末资产总额突破3000亿元、2025年末存款余额达到2000亿元和贷款余额达到1500亿元,并在2023年定下了2025年末力争在主板市场成功上市的目标。
截至目前,上市的目标尚未完成。到2025年三季度末,绵阳银行资产总额达到了2736.34亿元,比二季度末还缩水了1.42亿元;贷款余额为1355.56亿元,仅比二季度末增加了24.09亿元,这两项目标应该也是很难达成了。存款余额目前已经达成目标,三季度末为2232.16亿元。
与多个经营目标未完成相比,绵阳银行的合规和风控问题则更加值得关注,该行不仅与被执行人开展保理业务,贷款集中度也偏高,而且税收滞纳金和罚款也是快速增加。
与被执行人开展保理业务,存在潜在风险
2025年7月3日,绵阳银行发布的重大关联交易事项公告称,近期拟与上海宝冶集团有限公司开展保理业务,交易金额为3亿元。公告介绍说,上海宝冶是绵阳银行控股股东五矿资本控股有限公司的实际控制人中国五矿集团有限公司能施加重大影响的法人,所以构成该行关联方。

公开信息显示,上海宝冶是中国五矿和中国中冶旗下的国有控股骨干企业,专注于工程总承包和建筑施工服务,注册资本高达57.78亿元。按道理来说,与上海宝冶这种实力雄厚的央企展开保理业务,对绵阳银行来说是不错的选择。
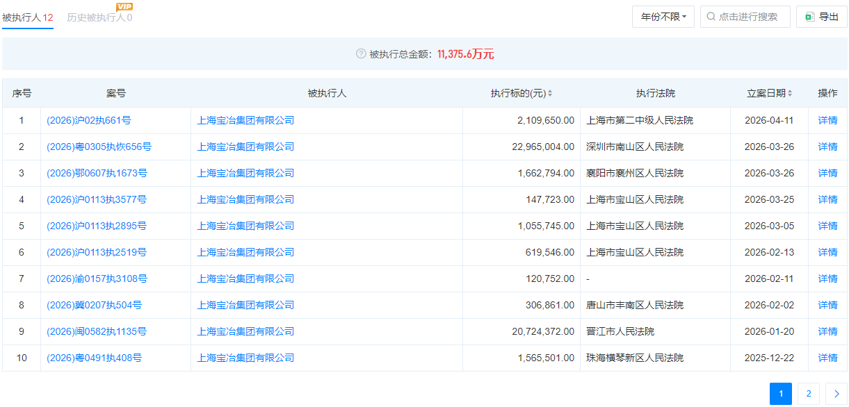
然而,过去4个月,上海宝冶有十多条被执行人信息,执行标的达到了1.14亿元。天眼查显示,在2025年12月2日到2026年4月11日期间,上海宝冶12次被列为被执行人,12月2日正是金额最大的一次,执行标的达到了6193.28万元。

其实,在此之前,上海宝冶也经常被列为被执行人。根据相关报道,早在2023年9月,上海宝冶就曾被列为被执行人,执行标的为118.43万元。过去这几年,有关上海宝冶的被执行信息就没有中断过,而且被执行金额普遍不小。
在这种背景下,绵阳银行与上海宝冶展开保理业务,会存在一定风险。频繁成为被执行人,意味着上海宝冶可能存在债务违约或履约困难,这可能会影响到保理回款。而且被执行人一旦涉及司法程序,其应收账款可能有被查封、冻结的风险,转让效力就会存疑。
这说明绵阳银行在授信前的尽职调查、授信中的风险监测以及关联交易管理等环节存在严重不足,未能及时识别关联交易方的经营风险和信用隐患。
贷款集中度偏高拉高风险,对公贷款超9成
贷款集中度高,也是绵阳银行面临的一大挑战。2024年年报显示,绵阳银行最大十户客户贷款总额为95.44亿元,而该行2024年末的资本净额为176.19亿元,最大十家客户贷款总额占总资本净额的比例为54.17%。而单一最大客户的贷款余额为15.4亿元,占贷款总额的比例为1.21%,占资本净额的比例为8.74%。

根据《商业银行风险监管核心指标》、《商业银行法》及《商业银行大额风险暴露管理办法》等规定,商业银行对最大十家客户发放的贷款总额不得超过其资本净额的50%,单一客户不得超过10%。
绵阳银行最大十家客户贷款总额明显偏高,一旦其中某一家客户出现经营困难、还款能力下降等问题,将直接影响该行的资产质量和盈利能力,这个风险无疑是需要重点关注的。尽管单一最大客户的贷款比例未到监管红线,但也需要给予关注。
另外值得一提的是,绵阳银行对公贷款比例也比较高。2024年的审计报告显示,截至2024年末,绵阳银行对公贷款1169.76亿元,占贷款总额1272.31亿元的91.94%,个人贷款占比只有8%左右,处于完全失衡的状态。

对公贷款中,金额最高的行业是租赁和商务服务业,占贷款总额的32.1%,其次是22.23%的批发和零售业,建筑业的占比也达到了12.52%。
税收滞纳金和罚款支出猛涨,暴露内控短板
税收滞纳金和罚款支出的猛涨,则是将绵阳银行的合规困境暴露出来。根据2024年审计报告以及2024年度信息披露报告,绵阳银行2024的税收滞纳金达到了524.2万元,比2023年的9.22万元增加了5585.47%。

2022年的审计报告显示,绵阳银行2021年并没有税收滞纳金支出,意味着这项支出可能是从2022年才开始出现,这一年是20.47万元。而且和2023年一样,名称都叫税收滞纳金及罚款,2024年才改为税收滞纳金。

税收滞纳金是对不按纳税期限缴纳税款的纳税人,按滞纳天数加收滞纳税款一定比例的款项,它是税务机关对逾期缴纳税款的纳税人给予经济制裁的一种措施。税收滞纳金的具体计算方式为滞纳税款×0.0005×滞纳天数,即每日加收比例为万分之五。
这也意味着,从2022年到2024年,绵阳银行都存在未按时缴纳税款的情况,而且2024年比前两年要严重很多。至于为何会逾期缴纳税款,而且金额猛增,也只有绵阳银行自己清楚了。
另外,绵阳银行的罚款支出也从2023年的182.25万元涨到了2024年的828.65万元,涨幅达到了354.68%。企业预警通显示,绵阳银行2024年遭到监管部门罚款131.34万元,与相关数据有近700万元的差距,这说明该行可能还有其他项目的罚款支出。
值得一提的是,绵阳银行2023年一共遭到监管部门3次罚款,其中本行120万元、广元分行21万元、南充分行41.25万元,一共是182.25万元,与审计报告的数据一致。
无论是税收滞纳金的出现和猛涨,还是罚款支出的大幅增加,都会侵蚀绵阳银行的利润,同时也反映出该行在内部治理和风险控制方面出现了漏洞。
注:本文数据和信息来源于公司公告和年报、企业预警通、天眼查、媒体报道等公开渠道;本文纯属个人观点,仅供参考,不构成投资建议;未经授权,本文禁止转载!
·END·
财经号声明: 本文由入驻中金在线财经号平台的作者撰写,观点仅代表作者本人,不代表中金在线立场。仅供读者参考,并不构成投资建议。投资者据此操作,风险自担。同时提醒网友提高风险意识,请勿私下汇款给自媒体作者,避免造成金钱损失,风险自负。如有文章和图片作品版权及其他问题,请联系本站。
